授权公布号:CN215856653U
一种热轧辊弹起报警装置
有效
申请
2021-07-26
申请公布
1970-01-01
授权
2022-02-18
预估到期
2031-07-26
| 申请号 | CN202121706012.8 |
| 申请日 | 2021-07-26 |
| 授权公布号 | CN215856653U |
| 授权公告日 | 2022-02-18 |
| 分类号 | D04H3/14;G08B21/24 |
| 分类 | 编织;花边制作;针织;饰带;非织造布; |
| 申请人名称 | 广东必得福医卫科技股份有限公司 |
| 申请人地址 | 广东省佛山市南海区沙头石江工业区 |
专利法律状态
2022-02-18
授权
状态信息
授权
摘要
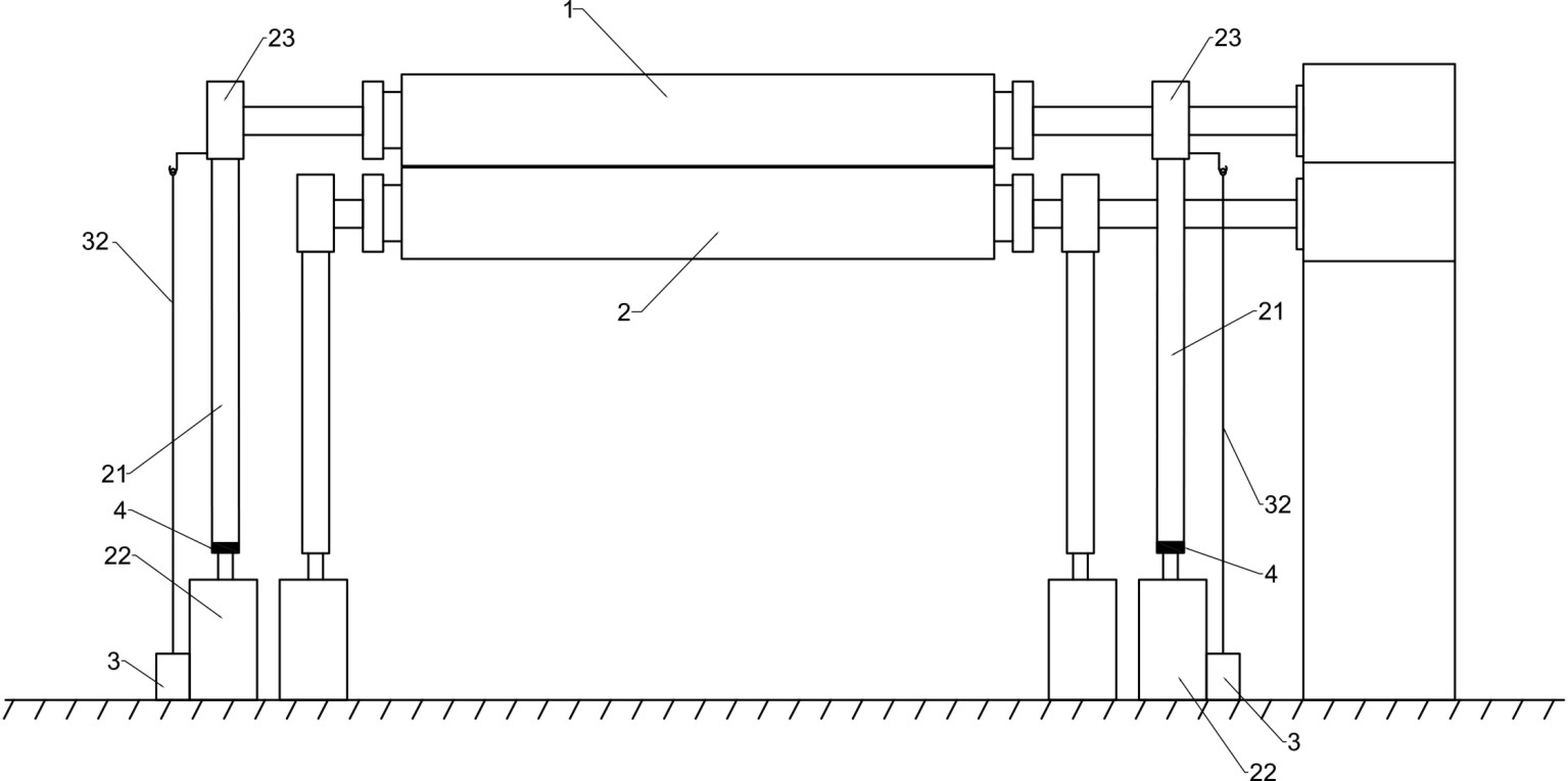
本实用新型公开了一种热轧辊弹起报警装置,包括紧靠布置的压辊和底辊,所述压辊的两端均配置有一个升降驱动装置,两所述升降驱动装置同步动作以调整压辊与底辊之间的间隙;还包括分别设于压辊两端位置的两个光电测量卷尺,其中,所述光电测量卷尺的本体固定在额定位置,所述光电测量卷尺的尺条被拉出并延伸连接至压辊的端部;所述压辊经升降驱动装置调整到位后,通过实时监测两个光电测量卷尺的尺条长度变化来反映判断出压辊是否存在弹起异常。


