授权公布号:CN218756377U
一种具有消臭功能的木浆熔喷复合非织造布及其生产设备
有效
申请
2022-10-19
申请公布
1970-01-01
授权
2023-03-28
预估到期
2032-10-19
| 申请号 | CN202222752702.8 |
| 申请日 | 2022-10-19 |
| 授权公布号 | CN218756377U |
| 授权公告日 | 2023-03-28 |
| 分类号 | D04H1/541;D04H1/407 |
| 分类 | 编织;花边制作;针织;饰带;非织造布; |
| 申请人名称 | 广东必得福医卫科技股份有限公司 |
| 申请人地址 | 广东省佛山市南海区沙头石江工业区 |
专利法律状态
2023-03-28
授权
状态信息
授权
摘要
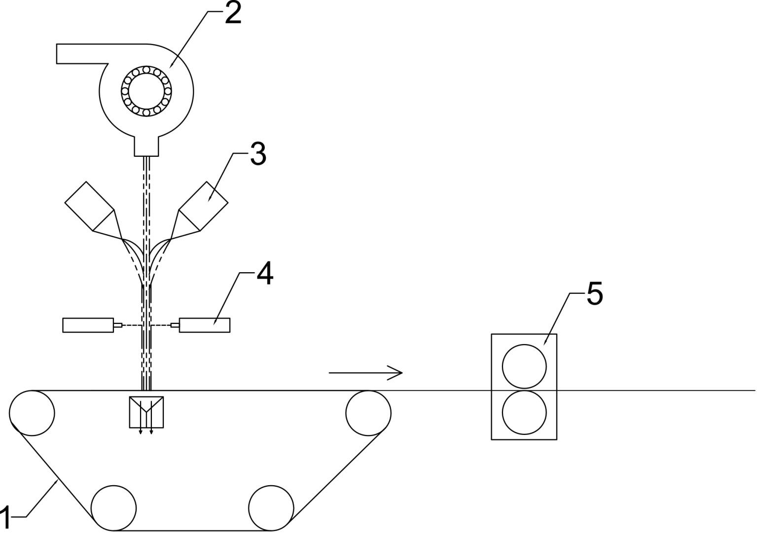
本实用新型公开了一种具有消臭功能的木浆熔喷复合非织造布及其生产设备,包括成网机、由上至下依次布置于成网机上方的木浆粉碎装置、熔喷机组和投放组件,所述木浆粉碎装置朝成网机的成网面向下喷出木浆纤维;所述熔喷机组包括两组分别布置在木浆纤维的喷出路径两侧的熔喷模头,所述熔喷模头用于朝木浆纤维的喷出路径喷出熔喷纤维;所述投放组件包括两组分别布置在木浆纤维的喷出路径的微胶囊喷头,所述微胶囊喷头用于朝木浆纤维的喷出路径喷出消臭微胶囊;相缠结嵌合的所述木浆纤维、熔喷纤维和消臭微胶囊共同由成网机的成网面所承接,并且成网形成木浆熔喷复合非织造布。


