授权公布号:CN216507288U
一种单向弹性无纺布的生产设备
有效
申请
2021-11-30
申请公布
1970-01-01
授权
2022-05-13
预估到期
2031-11-30
| 申请号 | CN202122963110.6 |
| 申请日 | 2021-11-30 |
| 授权公布号 | CN216507288U |
| 授权公告日 | 2022-05-13 |
| 分类号 | B32B37/10;B32B37/06;B32B38/06 |
| 分类 | 层状产品; |
| 申请人名称 | 广东必得福医卫科技股份有限公司 |
| 申请人地址 | 广东省佛山市南海区沙头石江工业区 |
专利法律状态
2022-05-13
授权
状态信息
授权
摘要
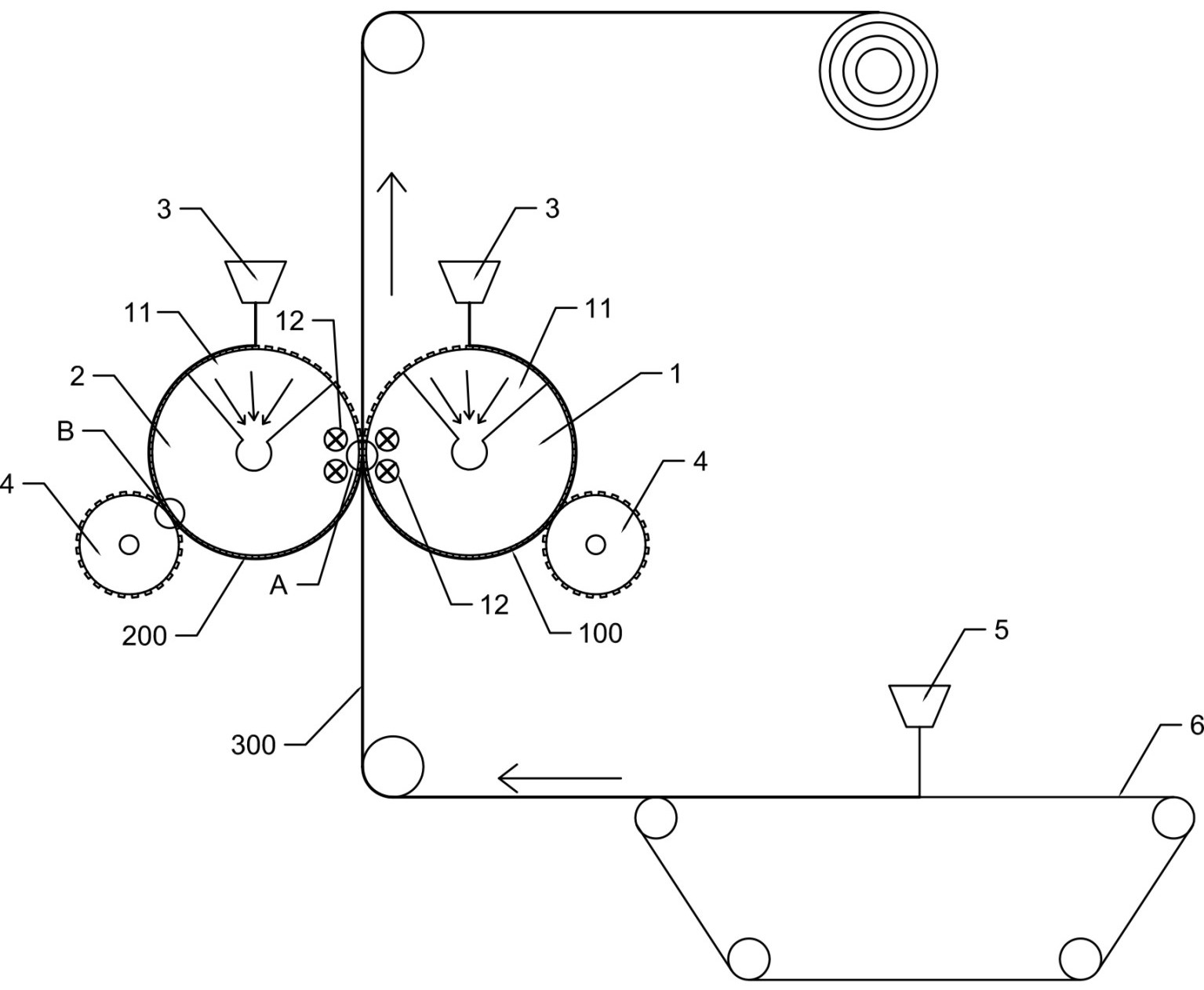
本实用新型公开了一种单向弹性无纺布的生产设备,包括临近布置的第一复合辊和第二复合辊,其中,所述第一复合辊和第二复合辊的辊面均成型有复合凹凸纹理,还包括两组面层纺粘机,所述第一复合辊和第二复合辊的辊面上设有用于接收面层纺粘机喷出的纺粘纤维的抽吸区域,从而分别在第一复合辊和第二复合辊上形成第一面层和第二面层;所述第一面层和第二面层夹着预设的弹性中间层共同汇入第一复合辊与第二复合辊之间的辊面间隙中进行机械压合;上述生产设备用于制备出具备弹性特性的复合无纺布。


