授权公布号:CN110292311B
一种奶泡输出角度可调的咖啡机
有效
申请
2019-06-24
申请公布
2019-10-01
授权
2024-02-09
预估到期
2039-06-24
| 申请号 | CN201910549301.2 |
| 申请日 | 2019-06-24 |
| 申请公布号 | CN110292311A |
| 申请公布日 | 2019-10-01 |
| 授权公布号 | CN110292311B |
| 授权公告日 | 2024-02-09 |
| 分类号 | A47J31/40;A47J31/44;A47J31/46 |
| 分类 | 家具;家庭用的物品或设备;咖啡磨;香料磨;一般吸尘器; |
| 申请人名称 | 广东亿龙电器科技有限公司 |
| 申请人地址 | 广东省佛山市顺德区龙江镇龙江居委会龙洲路龙江段以南B5 |
专利法律状态
2024-02-09
授权
状态信息
授权
2019-11-01
实质审查的生效
状态信息
实质审查的生效;IPC(主分类):A47J31/40;申请日:20190624
2019-10-01
公布
状态信息
公布
摘要
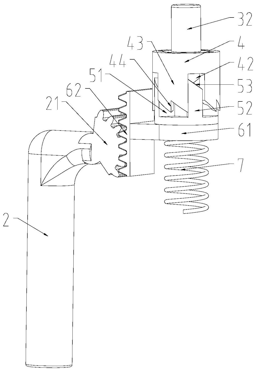
本发明提供一种奶泡输出角度可调的咖啡机,包括咖啡机本体、设置在咖啡机本体上的奶盒,所述奶盒包括奶盒体、奶盒盖、奶泡器、蒸汽接头、出奶泡管、吸奶管,所述奶盒还包括调节机构,所述调节机构设置在奶盒盖内并与出奶泡管连接,所述调节机构用于调节出奶泡管的角度。本发明的奶盒设有用于调节出奶泡管角度的调节机构,通过按压按钮即可使出奶泡管翘起/收起;调节机构的结构可靠、耐用,同时还方便用户使用,提高用户体验。


