授权公布号:CN114228255B
一种分类清洁袋成型工艺
有效
申请
2021-12-23
申请公布
2022-03-25
授权
2024-03-19
预估到期
2041-12-23
| 申请号 | CN202111588801.0 |
| 申请日 | 2021-12-23 |
| 申请公布号 | CN114228255A |
| 申请公布日 | 2022-03-25 |
| 授权公布号 | CN114228255B |
| 授权公告日 | 2024-03-19 |
| 分类号 | B31B70/04;B31B70/26;B31B70/68 |
| 分类 | 纸品制作;纸的加工; |
| 申请人名称 | 声科家居用品(上海)有限公司 |
| 申请人地址 | 上海市青浦区青浦工业园区新技路777号 |
专利法律状态
2024-03-19
授权
状态信息
授权
2022-04-12
实质审查的生效
状态信息
实质审查的生效;IPC(主分类):B31B70/04;申请日:20211223
2022-03-25
公布
状态信息
公布
摘要
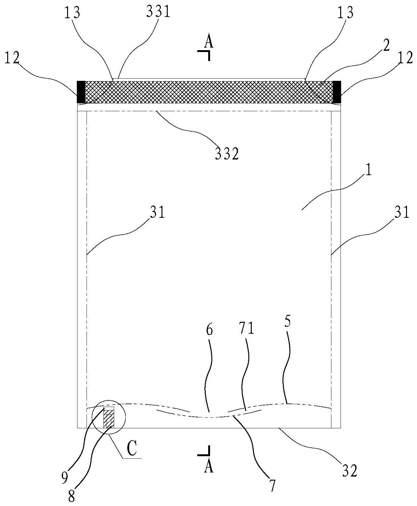
本发明涉及清洁袋成型领域,尤其涉及一种分类清洁袋成型工艺,其解决了现有拉绳清洁袋不够简便、具有较多冗余设计的技术问题,而且其可以有效实现双色间隔的清洁袋卷的成型,包括以下步骤:第一步,利用吹膜模头,实现间隔状的双色的薄膜;第二步,在薄膜上定位形成多个片体,并挖切容置腔切口;第三步,输入两条片状的拉绳;第四步,折叠,折叠后薄膜完全覆盖拉绳;第五步,缝合,形成容置腔,拉绳位于容置腔内;第六步,将薄膜折叠,折叠部位形成底边;第七步,间隔进行缝合,形成侧缝合线;第八步,对位于容置腔切口处的两个拉绳进行缝合;第九步,虚切,形成虚切线,同时虚切或切断拉绳;第十步,对薄膜再次折叠,进行绕卷,形成清洁袋卷。


