授权公布号:CN216727238U
一种缩聚釜
有效
申请
2021-12-23
申请公布
1970-01-01
授权
2022-06-14
预估到期
2031-12-23
| 申请号 | CN202123277317.4 |
| 申请日 | 2021-12-23 |
| 授权公布号 | CN216727238U |
| 授权公告日 | 2022-06-14 |
| 分类号 | B01J19/18;B01J4/00;C08G63/183;C08G63/78 |
| 分类 | 一般的物理或化学的方法或装置; |
| 申请人名称 | 佛山佛塑科技集团股份有限公司 |
| 申请人地址 | 广东省佛山市禅城区汾江中路85号 |
专利法律状态
2022-06-14
授权
状态信息
授权
摘要
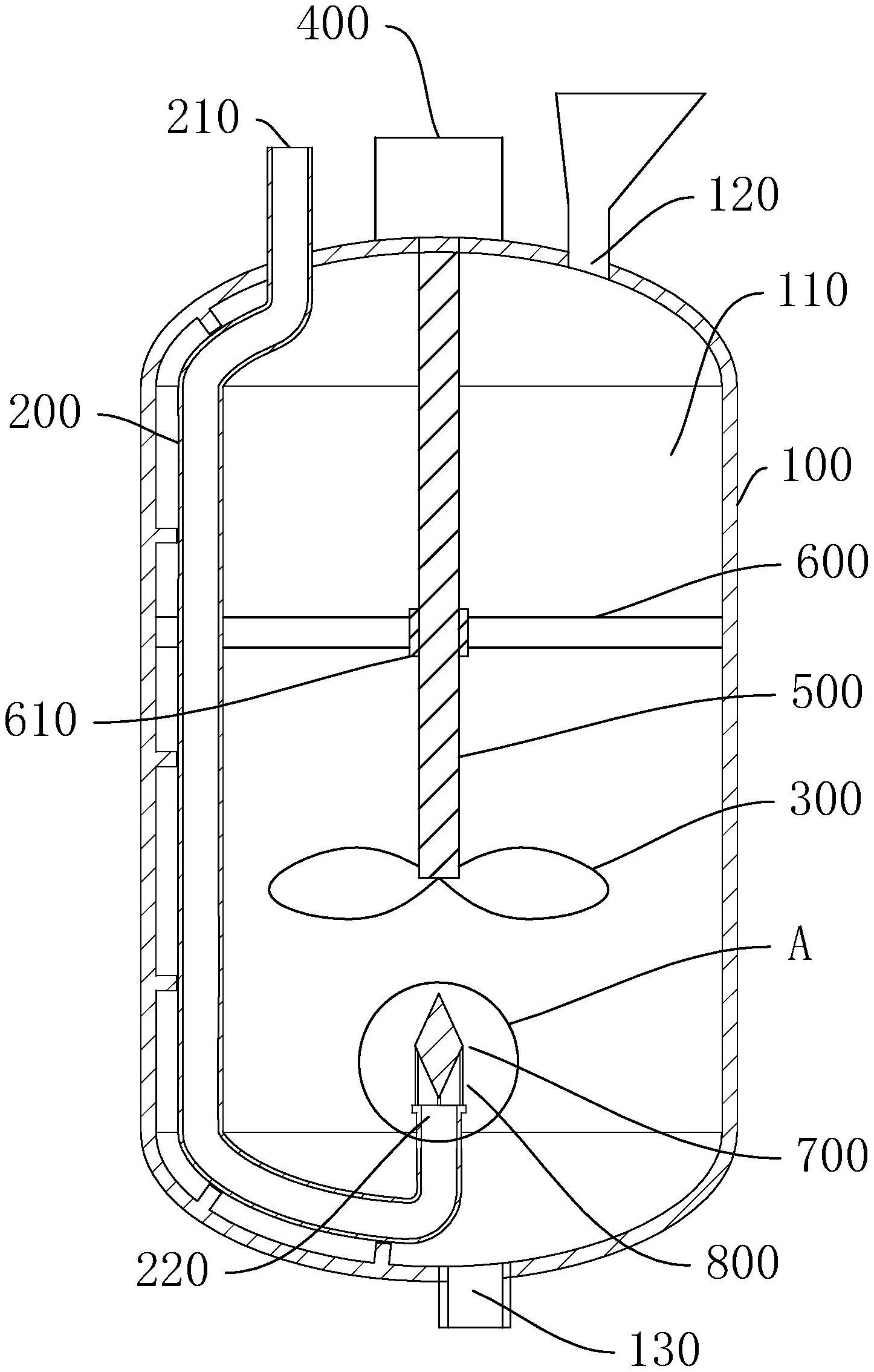
本实用新型公开了一种缩聚釜,其包括釜体和添加剂管道,釜体内部设置有反应腔室;添加剂管道设置于反应腔室,添加剂管道设置有进料口端和出料口端,进料口端从釜体的上部伸出,出料口端往下延伸至反应腔室的底部,出料口端朝向上设置。在添加添加剂时,从进料口端加入添加剂,添加剂沿添加剂管道往下流动,之后出料口端往上喷出,这样可避免添加剂直接喷到反应腔室的内壁,也避免添加剂滴落至反应腔室的液面而飞溅起来,此外,反应腔室内的反应物料也对添加剂起到阻挡缓冲效果。


