授权公布号:CN216229578U
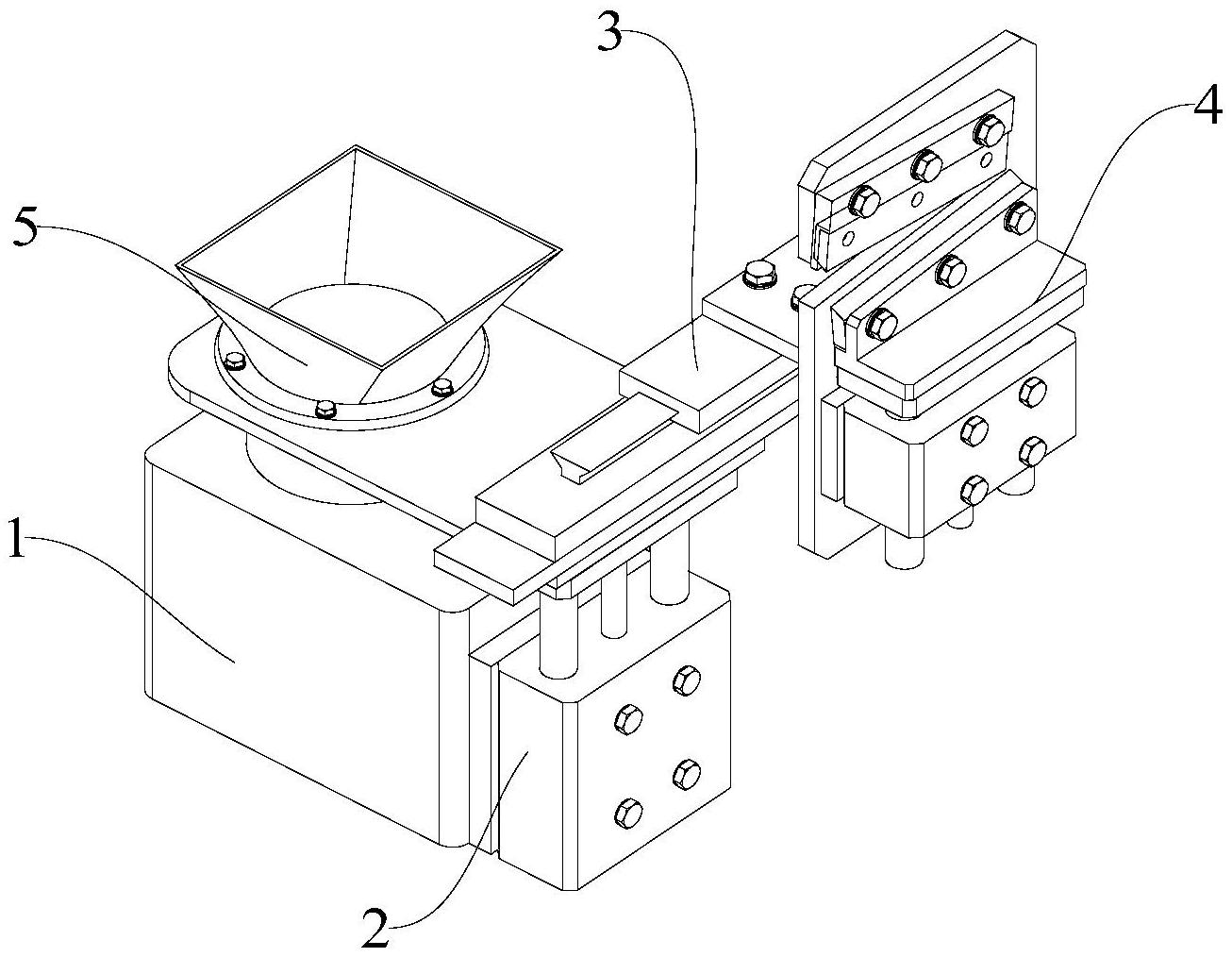
自动斩边装置
有效
申请
2021-10-26
申请公布
1970-01-01
授权
2022-04-08
预估到期
2031-10-26
| 申请号 | CN202122585576.7 |
| 申请日 | 2021-10-26 |
| 授权公布号 | CN216229578U |
| 授权公告日 | 2022-04-08 |
| 分类号 | B26D1/08;B26D7/01;B26D7/06 |
| 分类 | 手动切割工具;切割;切断; |
| 申请人名称 | 佛山佛塑科技集团股份有限公司 |
| 申请人地址 | 广东省佛山市禅城区汾江中路85号 |
专利法律状态
2022-04-08
授权
状态信息
授权
摘要
本实用新型公开了一种自动斩边装置,该自动斩边装置包括机座、升降机构、平移机构以及具有斩边区域的斩边机构;所述平移机构与所述斩边机构驱动连接,以在所述平移机构的平移运动下改变所述斩边机构的横向位置;所述升降机构固定设置在所述机座上,所述升降机构与所述平移机构驱动连接,以在所述升降机构的升降运动下改变所述斩边机构的纵向位置。本实用新型通过升降机构和平移机构的配合,实现斩边机构的升降和平移运动,有效避免人工斩边的安全隐患,以及解决固定式斩边装置对上膜等操作的妨碍。


