授权公布号:CN214214857U
一种具有升降功能的托板打包机
有效
申请
2020-12-23
申请公布
1970-01-01
授权
2021-09-17
预估到期
2030-12-23
| 申请号 | CN202023138665.9 |
| 申请日 | 2020-12-23 |
| 授权公布号 | CN214214857U |
| 授权公告日 | 2021-09-17 |
| 分类号 | B30B9/30;B30B15/32 |
| 分类 | 压力机; |
| 申请人名称 | 上海外贸瓦屑包装袋有限公司 |
| 申请人地址 | 上海市浦东新区周浦镇瓦屑社区建设路74号 |
专利法律状态
2021-09-17
授权
状态信息
授权
摘要
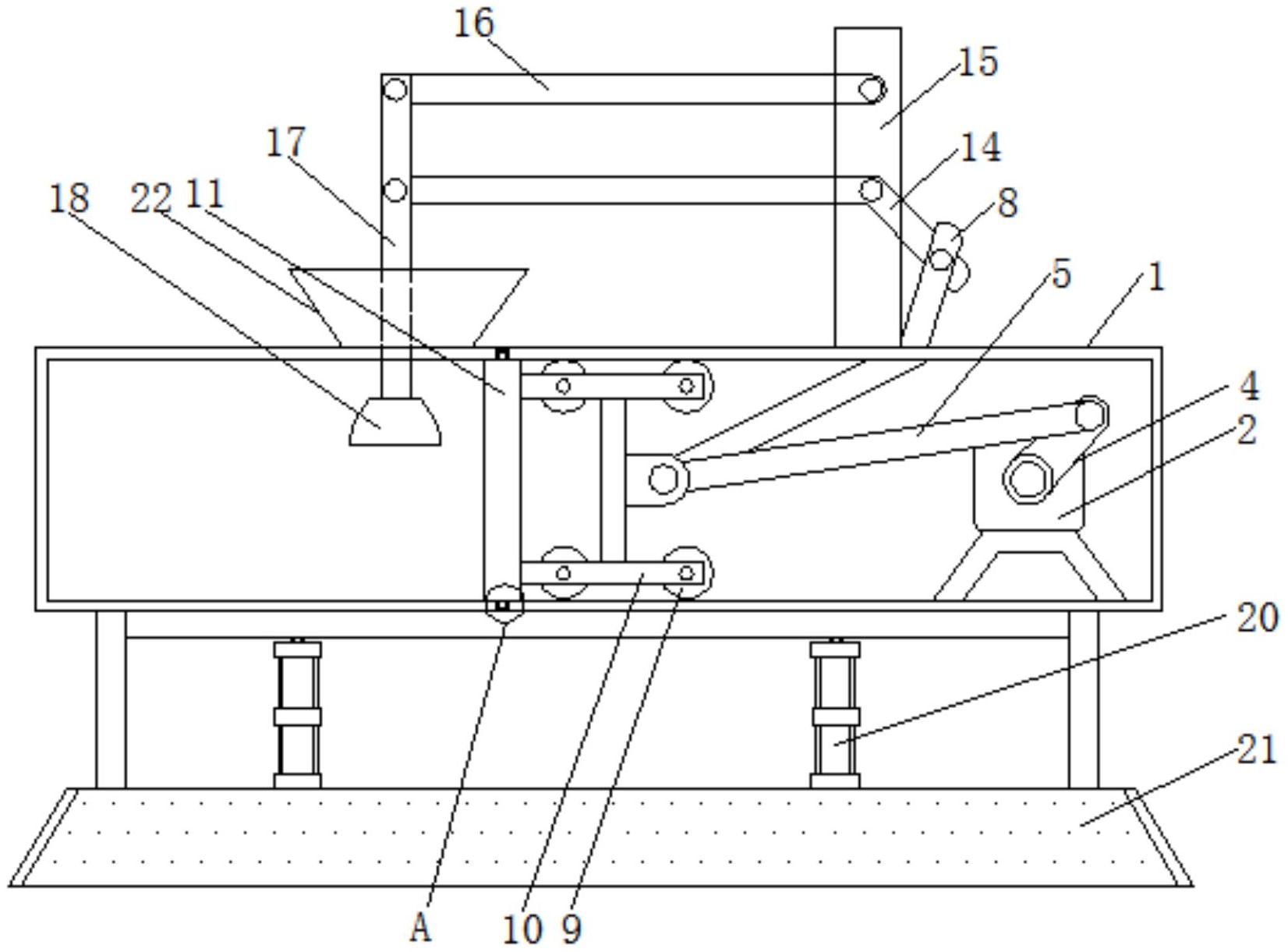
本实用新型公开了一种具有升降功能的托板打包机,包括机身和推板,所述机身的内部安装有双向电机,且双向电机的输出端连接有传动轴,所述传动轴的外表面固定有摇臂,且摇臂的另一端连接有第一传动杆,所述第一传动杆的另一端连接有第一连接件,且第一连接件的左侧连接有第二连接件,所述第二连接件的前后两端均连接有辅助件,且辅助件的一侧连接有滑轮,所述推板设置于辅助件的左侧,且推板的上下两端均固定有滑块,所述滑块的外表面连接有滑槽。该具有升降功能的托板打包机通过设置后的摇臂能够在双向电机和传动轴的相互配合下进行转动,如此能够带动第一传动杆进行转动,从而推动推板向左侧移动,实现自动化流程。


