授权公布号:CN218707477U
一种火电厂输煤皮带喷雾除尘装置
有效
申请
2022-05-09
申请公布
1970-01-01
授权
2023-03-24
预估到期
2032-05-09
| 申请号 | CN202221102257.4 |
| 申请日 | 2022-05-09 |
| 授权公布号 | CN218707477U |
| 授权公告日 | 2023-03-24 |
| 分类号 | B65G69/18 |
| 分类 | 输送;包装;贮存;搬运薄的或细丝状材料; |
| 申请人名称 | 山东华鲁恒升化工股份有限公司 |
| 申请人地址 | 山东省德州市德城区天衢西路24号 |
专利法律状态
2023-03-24
授权
状态信息
授权
摘要
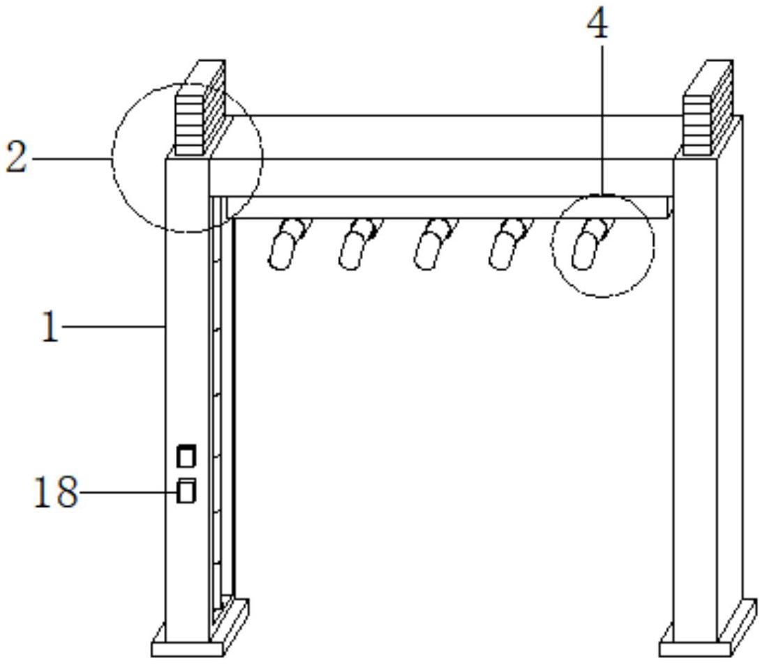
本实用新型涉及环保除尘技术领域,具体公开了一种火电厂输煤皮带喷雾除尘装置。该装置包括安装框架,安装框架内通过升调机构连接有制动式衔接机构,升调机构对称设置于安装框架内腔两侧,且制动式衔接机构设置于相邻的两个升调机构之间,制动式衔接机构底面设置有喷淋机构,制动式衔接机构顶面卡合连接有衔入机构,且衔入机构设置于安装框架内腔顶面。本实用新型采用调速电机作为输出的中枢,以及通过丝杆作为制动的部件,并通过螺纹作为带动的方式,有效带动喷淋端进行上下位移,使得在维修时,不需要工作人员通过梯子攀爬至高处进行更换,提高了更换的效率,降低了危险系数。


