授权公布号:CN206821859U
一种鸡胗清洗装置
有效
申请
2017-04-07
申请公布
1970-01-01
授权
2018-01-02
预估到期
2027-04-07
| 申请号 | CN201720357991.8 |
| 申请日 | 2017-04-07 |
| 授权公布号 | CN206821859U |
| 授权公告日 | 2018-01-02 |
| 分类号 | A22C21/00 |
| 分类 | 屠宰;肉品处理;家禽或鱼的加工; |
| 申请人名称 | 山东德州扒鸡股份有限公司 |
| 申请人地址 | 山东省德州市晶华大道3968号 |
专利法律状态
2018-01-02
授权
状态信息
授权
摘要
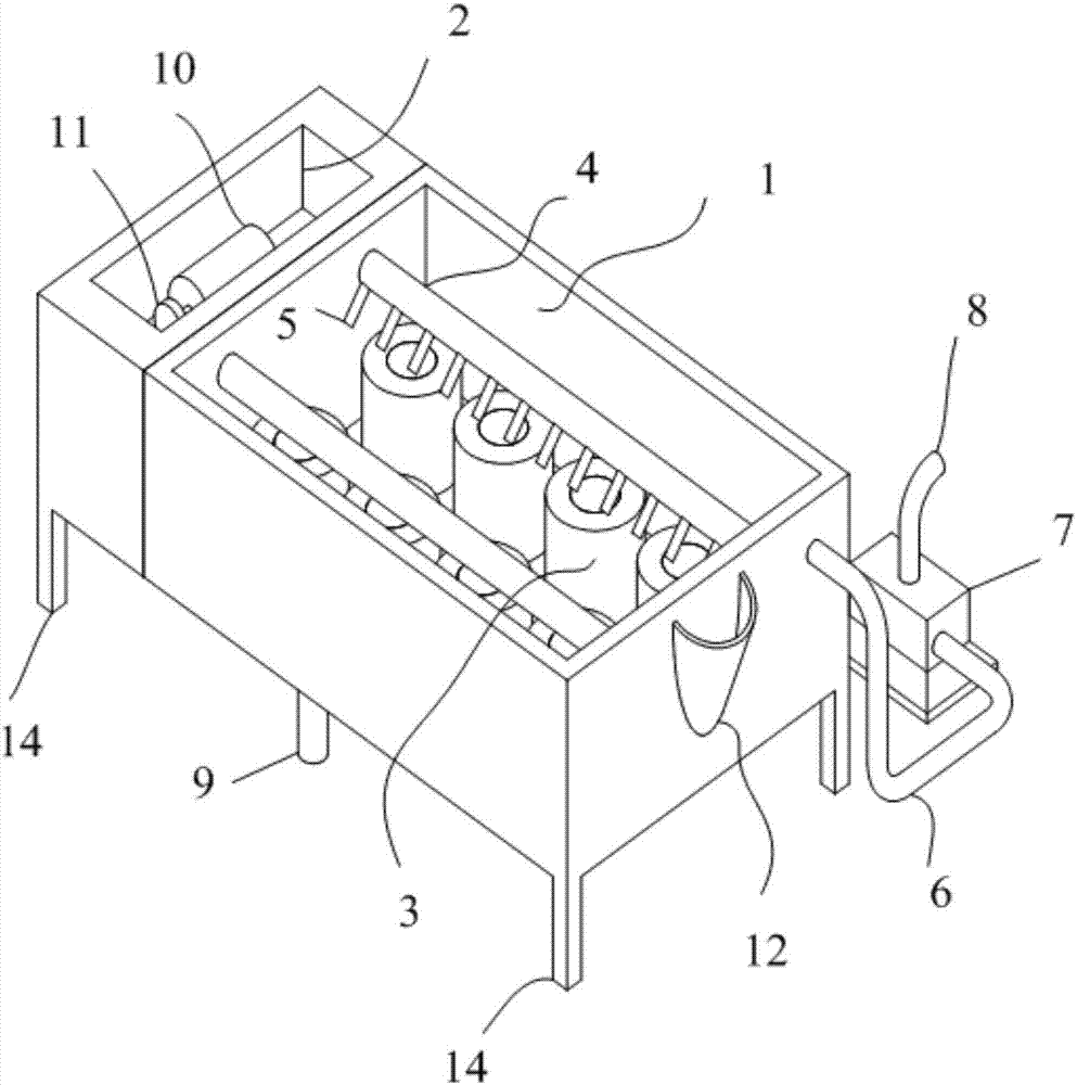
本实用新型属于禽类加工机械领域,尤其涉及一种鸡胗清洗装置。包括并排设置清洗室和动力室,清洗室内设置有两排平行设置的滚轴,滚轴外表面套设有毛刷,滚轴上方喷水管,喷水管底部设置有均匀分布且开口朝下的喷淋头,喷水管通过泵水管连接有设置在清洗室一侧的抽水泵,抽水泵上设置有进水管,清洗室底部设置有排水管,动力室内设置有电动机,电动机通过齿轮带动滚轴旋转。本实用新型通过电机旋转带动固定在轴体上的毛刷转动,通过与切开后的鸡胗搅动和摩擦实现清洗鸡胗内部褶皱中异物以及鸡胗背部经络的目的,将鸡胗本身异物和外来异物冲刷掉,能够极大的提高生产效率和鸡胗清洗干净程度,改变传统方式中人工清洗耗时耗力的弊端。


