授权公布号:CN219094496U
一种用于刹车片的开槽机及机器人刹车片加工系统
有效
申请
2022-12-05
申请公布
1970-01-01
授权
2023-05-30
预估到期
2032-12-05
| 申请号 | CN202223284486.5 |
| 申请日 | 2022-12-05 |
| 授权公布号 | CN219094496U |
| 授权公告日 | 2023-05-30 |
| 分类号 | B23Q11/00 |
| 分类 | 机床;不包含在其他类目中的金属加工; |
| 申请人名称 | 山东金麒麟股份有限公司 |
| 申请人地址 | 山东省德州市乐陵市阜乐路999号 |
专利法律状态
2023-05-30
授权
状态信息
授权
摘要
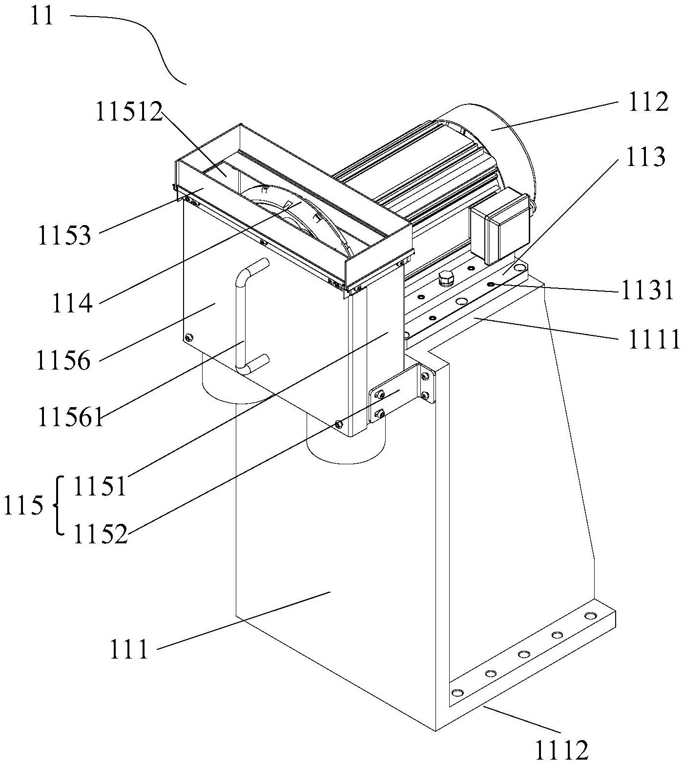
本实用新型提供了一种用于刹车片的开槽机及机器人刹车片加工系统,所述开槽机包括:机架、旋转驱动装置、开槽锯片和粉尘收集机构,所述旋转驱动装置与所述机架连接,所述开槽锯片与所述旋转驱动装置输出轴同轴连接,粉尘收集机构包括护罩,所述护罩安装在所述机架上,并形成有收集腔,所述收集腔一端开设有放料口,另一端设置有吸尘口,所述开槽锯片设置在所述收集腔内,且所述开槽锯片的外径凸出所述放料口。本实用新型可以很好的收集开槽过程中产生的粉尘和铁屑,减少开槽过程中,粉尘和铁屑在刹车片表面和槽口的附着量,进而可以降低粉尘和铁屑在刹车片后续表面喷漆处理过程中产生的不利影响。


