授权公布号:CN109210114B
鼓式刹车片的预粘定位装置
有效
申请
2018-09-30
申请公布
2019-01-15
授权
2024-03-01
预估到期
2038-09-30
| 申请号 | CN201811159464.1 |
| 申请日 | 2018-09-30 |
| 申请公布号 | CN109210114A |
| 申请公布日 | 2019-01-15 |
| 授权公布号 | CN109210114B |
| 授权公告日 | 2024-03-01 |
| 分类号 | F16D69/04;F16B11/00 |
| 分类 | 工程元件或部件;为产生和保持机器或设备的有效运行的一般措施;一般绝热; |
| 申请人名称 | 山东金麒麟股份有限公司 |
| 申请人地址 | 山东省德州市乐陵市阜乐路999号 |
专利法律状态
2024-03-01
授权
状态信息
授权
2019-02-12
实质审查的生效
状态信息
实质审查的生效;IPC(主分类):F16D69/04;申请日:20180930
2019-01-15
公布
状态信息
公布
摘要
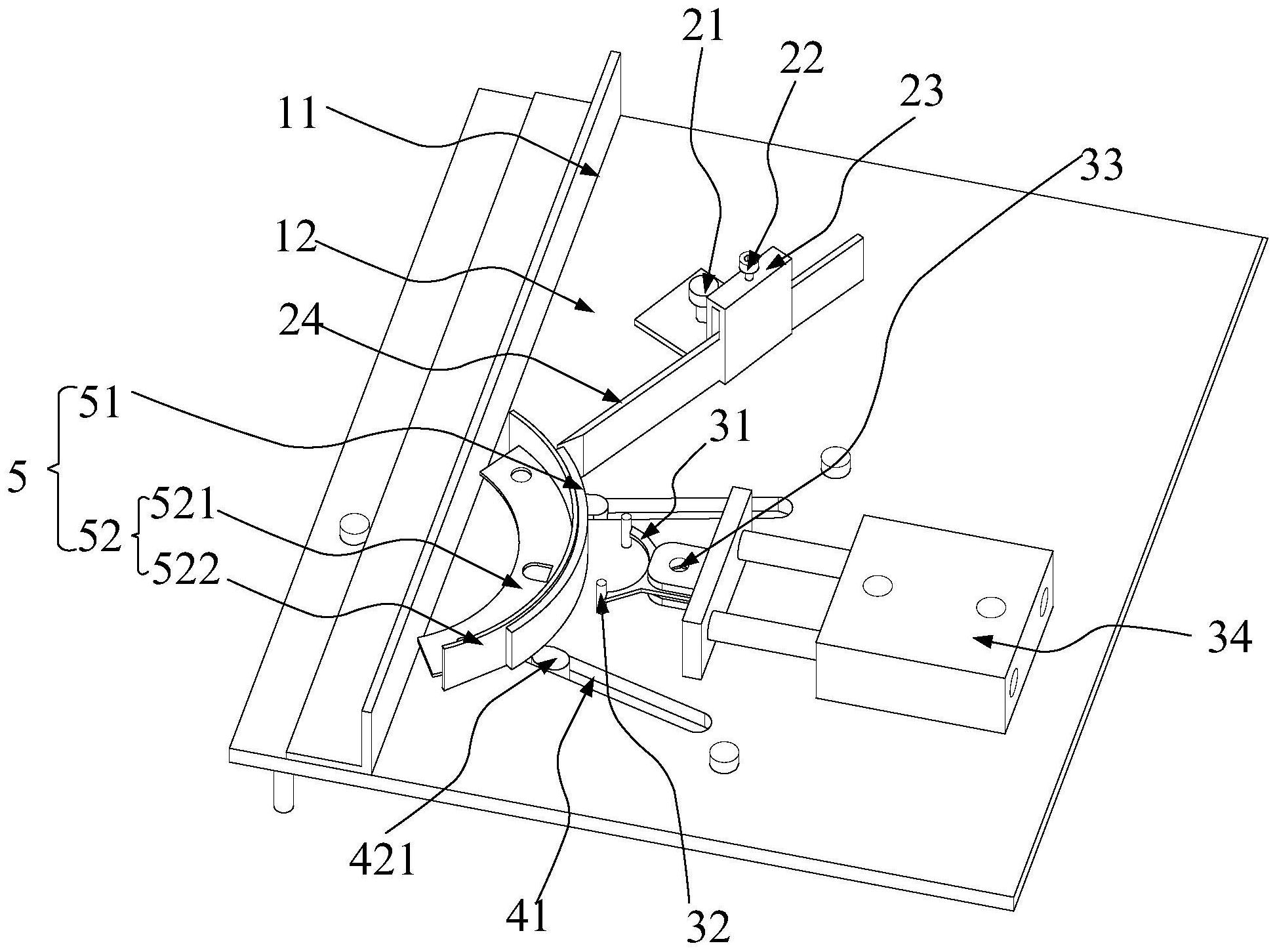
本发明提供一种鼓式刹车片的预粘定位装置,包括蹄铁定位机构和衬片定位机构;蹄铁定位机构包括能为蹄铁弧形板的弧形端面提供支撑的定位基板和设置在定位基板上供蹄铁筋板抵靠定位的定位立板,以及为蹄铁弧形板提供前后方向定位的定位体;衬片定位机构包括底部定位组件和侧面定位组件,底部定位组件对应安装在预设的弧形板位置外侧,底部定位组件内设置有与摩擦衬片的下侧粘接起始位置相持平的定位支撑面;侧面定位组件安装在定位基板上,侧面定位组件内设置有定位挡板,定位挡板能够在端部伸至弧形板与摩擦衬片的侧面粘接起始位置时锁紧固定。本发明能够解决现有技术中鼓式刹车片的摩擦衬片粘接位置无法有效保证、互换性低的问题。


