授权公布号:CN219681741U
一种直筒型中药提取罐
有效
申请
2023-05-31
申请公布
1970-01-01
授权
2023-09-15
预估到期
2033-05-31
| 申请号 | CN202321356754.1 |
| 申请日 | 2023-05-31 |
| 授权公布号 | CN219681741U |
| 授权公告日 | 2023-09-15 |
| 分类号 | B01D11/02;B08B9/087;B08B9/093 |
| 分类 | 一般的物理或化学的方法或装置; |
| 申请人名称 | 山东福牌制药有限公司 |
| 申请人地址 | 山东省济南市平阴县安城镇安圣路 |
专利法律状态
2023-09-15
授权
状态信息
授权
摘要
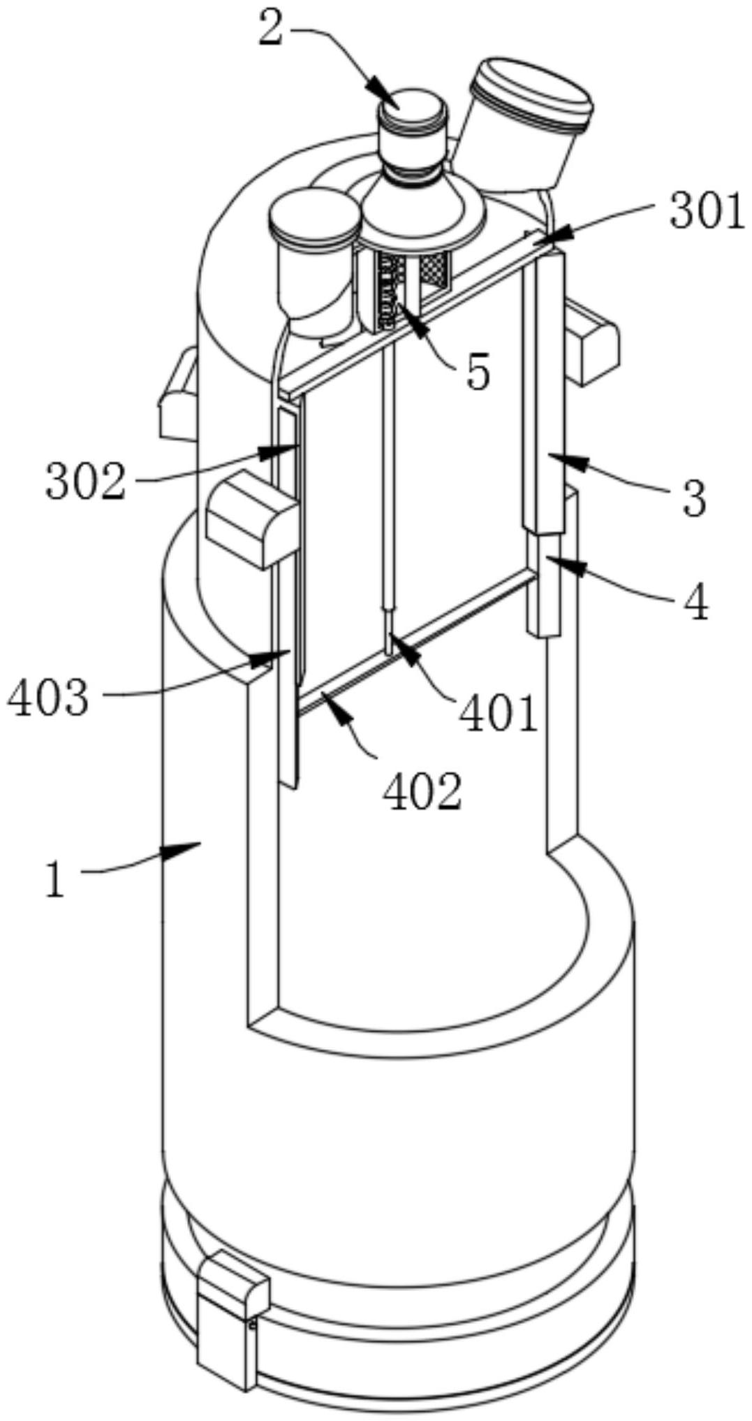
本实用新型公开了一种直筒型中药提取罐,属于制药机械技术领域,包括直筒型提取罐本体、安装于直筒型提取罐本体表面的驱动结构,以及对直筒型提取罐本体内壁进行清理的清理结构和调节结构;防护结构,设置于清理结构表面,并且对调节结构进行防护;本实用新型,通过设置清理结构和调节结构,在长期的使用过程中,直筒型提取罐本体内壁会粘附污垢,操作人员调节电推杆,电推杆进行伸长时,通过推动板带动两个伸缩刮板在两个清理板表面进行移动,从而调长清理板和伸缩刮板之间的长度,驱动结构带动清理板和伸缩刮板进行旋转时,能对直筒型提取罐本体内壁的污垢进行刮动,从而对其内部粘附的强力污垢进行清理。


