授权公布号:CN216705287U
一种淫羊藿清洗装置
有效
申请
2022-02-24
申请公布
1970-01-01
授权
2022-06-10
预估到期
2032-02-24
| 申请号 | CN202220374030.9 |
| 申请日 | 2022-02-24 |
| 授权公布号 | CN216705287U |
| 授权公告日 | 2022-06-10 |
| 分类号 | B08B3/10;F26B21/00 |
| 分类 | 清洁; |
| 申请人名称 | 山东福牌制药有限公司 |
| 申请人地址 | 山东省济南市平阴县安城镇安圣路 |
专利法律状态
2022-06-10
授权
状态信息
授权
摘要
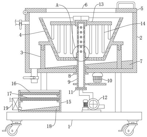
本实用新型公开了一种淫羊藿清洗装置,属于中草药加工技术领域。淫羊藿清洗装置,包括:移动底座;清洗箱,通过支杆安装在所述移动底座上;箱门,转动连接在所述清洗箱上;放置网篮,插接在所述清洗箱内的支板上;空心管,转动连接在所述清洗箱上,且上端延伸至所述放置网篮内;本实用新型可以自动对放置网篮内的淫羊藿进行拨动清洗,替代了人工,提高了清洗效率,当对淫羊藿清洗完成后,可以一边对淫羊藿进行拨动,一边对淫羊藿进行吹风烘干,从而可以对放置网篮内每个位置的淫羊藿都可以进行烘干,有效的提高了对淫羊藿烘干的均匀性,防止有少量的淫羊藿没被烘干,使其在存放过程中发生腐败及霉变的风险,有效的提高了该装置的实用性,适于推广使用。


