授权公布号:CN218056536U
一种中药挥发性成分蒸馏液用储液装置
有效
申请
2022-09-15
申请公布
1970-01-01
授权
2022-12-16
预估到期
2032-09-15
| 申请号 | CN202222436486.6 |
| 申请日 | 2022-09-15 |
| 授权公布号 | CN218056536U |
| 授权公告日 | 2022-12-16 |
| 分类号 | B65D53/00;B65D53/02;B65D81/20;B65D51/16 |
| 分类 | 输送;包装;贮存;搬运薄的或细丝状材料; |
| 申请人名称 | 山东福牌制药有限公司 |
| 申请人地址 | 山东省济南市平阴县安城镇安圣路 |
专利法律状态
2022-12-16
授权
状态信息
授权
摘要
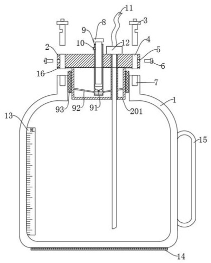
本实用新型公开了一种中药挥发性成分蒸馏液用储液装置,属于储液装置领域。一种中药挥发性成分蒸馏液用储液装置,包括:瓶体;螺纹连接在所述瓶体上的防尘盖,所述防尘盖上通过螺栓螺纹连接有栓孔一和栓孔二,所述栓孔二位于所述瓶体上与两组所述栓孔一位置相对应;设置于所述防尘盖底部的密封垫;本实用新型中通过设置瓶体、防尘盖、螺栓、栓孔一、销孔、插销、栓孔二、密封垫来对防尘盖与瓶体进行双重固定,实现了该储液装置密闭性,还设置了推杆、活塞筒、气管、气垫、泄气阀对瓶塞与瓶体中的空隙进行充氮气进一步提高了密封性,确保了挥发性成分蒸馏液在存储过程中减少与空气接触,避免了挥发性成分蒸馏液中易氧化的有效成分的氧化,从而提高了成药的质量。


