授权公布号:CN104089337B
一种室内空气净化器
有效
申请
2014-07-15
申请公布
2014-10-08
授权
2017-04-26
预估到期
2034-07-15
| 申请号 | CN201410337064.0 |
| 申请日 | 2014-07-15 |
| 申请公布号 | CN104089337A |
| 申请公布日 | 2014-10-08 |
| 授权公布号 | CN104089337B |
| 授权公告日 | 2017-04-26 |
| 分类号 | F24F1/02;F24F13/28 |
| 分类 | 供热;炉灶;通风; |
| 申请人名称 | 三生(中国)健康产业有限公司 |
| 申请人地址 | 浙江省宁波市鄞州区石矸街道车何渡村 |
专利法律状态
2021-01-08
专利权人的姓名或者名称、地址的变更
状态信息
专利权人的姓名或者名称、地址的变更
2017-04-26
授权
状态信息
授权
2014-10-29
实质审查的生效
状态信息
实质审查的生效IPC(主分类):F24F 1/02申请日:20140715
2014-10-08
公布
状态信息
公布
摘要
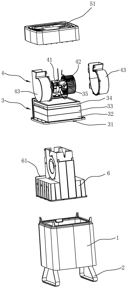
本发明公开了一种室内空气净化器,包括主体机箱、设置在主体机箱内的过滤装置、风机以及设置在主体机箱顶部上方的出风装置,主体机箱的顶部和底部开口,在主体机箱底部两侧分别设置有支架使得主体机箱悬空,从而主体机箱底部的开口作为进风口;风机包括固定在主体机箱内的双输出轴驱动电机,驱动电机的两个输出轴分别连接有风轮,风轮外周设有蜗壳,蜗壳的上端与出风装置连通。底部360度均可进风,能满足大面积空气净化需求,当由底部吸附的气流,经两侧风轮可从顶部四侧同时排出,风道内形成强负压,从而更有助于空气从底部进风口吸入,加大进风口的吸附量,在短时间内过滤更多空气,最大限度地加大房间内部的空气循环速度,达到高效净化的效果。


