授权公布号:CN213040933U
一种用于制药的粉末回收装置
有效
申请
2020-09-07
申请公布
1970-01-01
授权
2021-04-23
预估到期
2030-09-07
| 申请号 | CN202021923593.6 |
| 申请日 | 2020-09-07 |
| 授权公布号 | CN213040933U |
| 授权公告日 | 2021-04-23 |
| 分类号 | F26B11/16;F26B21/00;F26B25/00;F26B25/04;F26B25/06;B01D46/10;B01D46/02 |
| 分类 | 干燥; |
| 申请人名称 | 广州联存医药科技股份有限公司 |
| 申请人地址 | 广东省广州市白云区钟落潭镇红旗路49号 |
专利法律状态
2021-04-23
授权
状态信息
授权
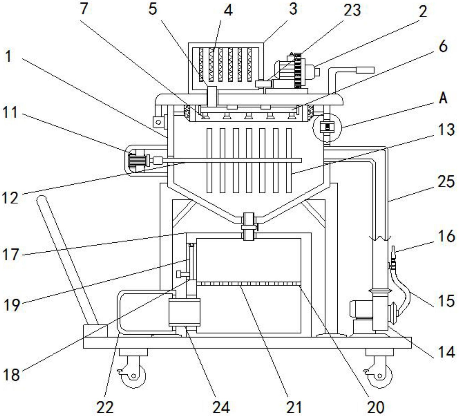
摘要
本实用新型涉及制药设备技术领域,且公开了一种用于制药的粉末回收装置,包括回收仓,所述回收仓的顶部固定安装有气泵,所述回收仓的顶部且位于气泵的左侧固定安装有箱体。该用于制药的粉末回收装置,通过引风机的吸头将药品粉末吸取到回收仓内,气泵吹出的空气充盈箱体,箱体内的加热棒将冷空气加热,热气通过出气管输送到回收仓内,搅拌杆带动叶片搅拌药品粉末,使之充分接触热气均匀烘干,烘干后打开回收仓与储存箱相连接管道阀门,使之掉落在过滤板上,筛出大颗粒药品,细腻的药品粉末落入下层,解决了药品生产中产生大量的粉末暴露在外,吸收空气中的水分受潮,回收后无法直接使用的问题,方便了使用者的使用。


