授权公布号:CN106561473B
驴用刷毛机
有效
申请
2016-10-19
申请公布
2017-04-19
授权
2022-06-17
预估到期
2036-10-19
| 申请号 | CN201610911209.2 |
| 申请日 | 2016-10-19 |
| 申请公布号 | CN106561473A |
| 申请公布日 | 2017-04-19 |
| 授权公布号 | CN106561473B |
| 授权公告日 | 2022-06-17 |
| 分类号 | A01K13/00 |
| 分类 | 农业;林业;畜牧业;狩猎;诱捕;捕鱼; |
| 申请人名称 | 东阿阿胶股份有限公司 |
| 申请人地址 | 山东省聊城市东阿县阿胶街78号 |
专利法律状态
2022-06-17
授权
状态信息
授权
2017-04-19
公布
状态信息
公布
摘要
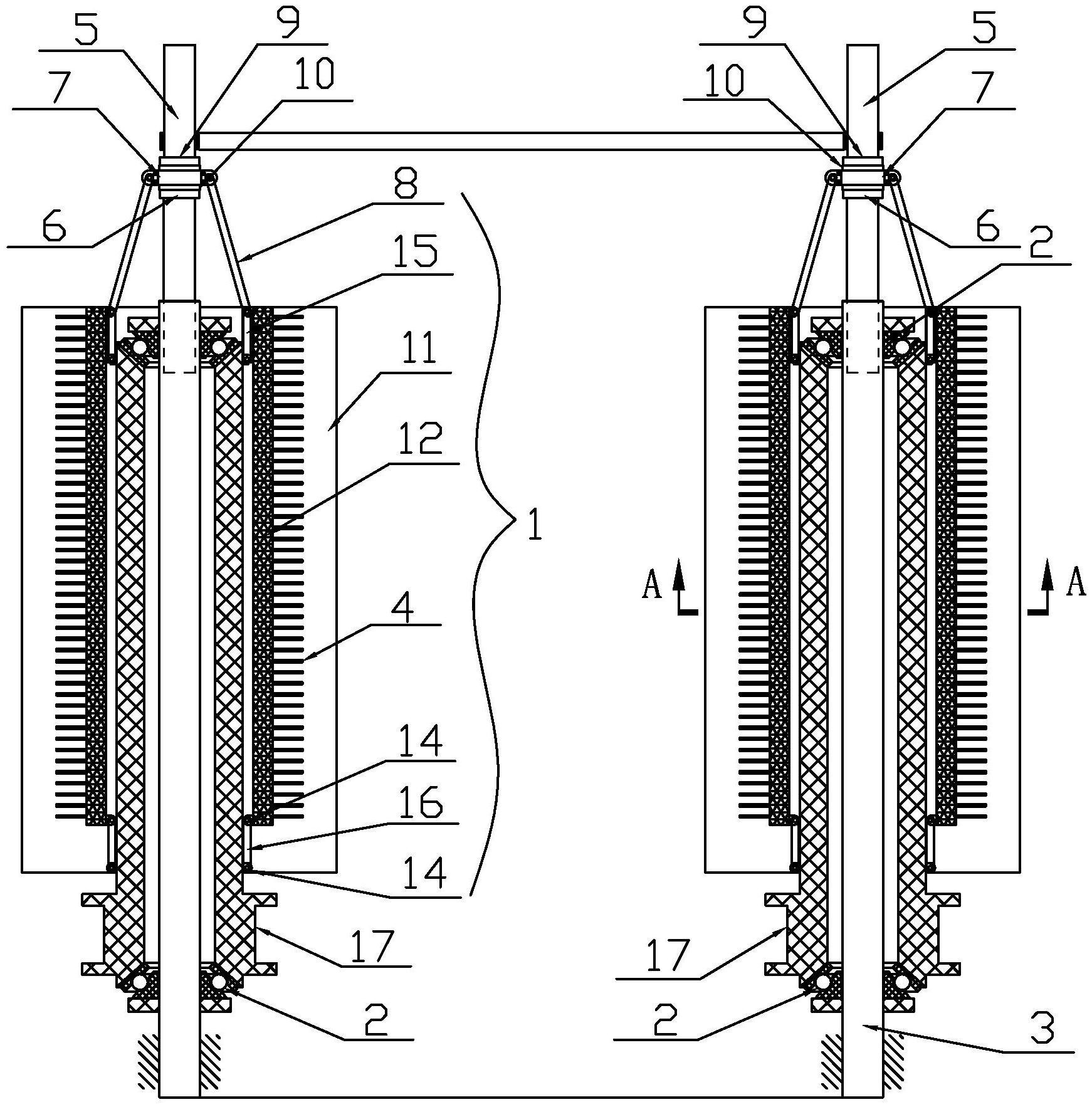
本发明涉及一种驴用刷毛机。现有刷毛机不适合毛驴使用。为此,本驴用刷毛机包括两侧护栏和刷毛筒,每个刷毛筒通过轴承固定在一个立轴上,刷毛筒配有驱动电机,刷毛筒为伸缩式刷毛筒,包括圆形筒体和N个长条形毛刷板。圆形筒体的外圆周上均设有N个竖直凹槽,每个竖直凹槽设有长条形毛刷板、上铰接连杆、下铰接连杆,上述部件在竖直凹槽内分别形成一个平行四边形机构,上述平行四边形机构分别通过一个推拉杆连在一分割座上,分割座由立轴上部的气动伸缩杆驱动,其中N为正整数,且4≤N≤12。本发明驴用刷毛机具有结构简单、毛驴无法啃咬的优点,适合各大规模养驴场使用。


