授权公布号:CN215046499U
一种胶块包装机多轨道上料机
有效
申请
2021-06-09
申请公布
1970-01-01
授权
2021-12-07
预估到期
2031-06-09
| 申请号 | CN202121281811.5 |
| 申请日 | 2021-06-09 |
| 授权公布号 | CN215046499U |
| 授权公告日 | 2021-12-07 |
| 分类号 | B65G47/14;B65G27/16;B65G47/30;B65G47/91;B65G43/08 |
| 分类 | 输送;包装;贮存;搬运薄的或细丝状材料; |
| 申请人名称 | 东阿阿胶股份有限公司 |
| 申请人地址 | 山东省聊城市东阿县阿胶街78号 |
专利法律状态
2021-12-07
授权
状态信息
授权
摘要
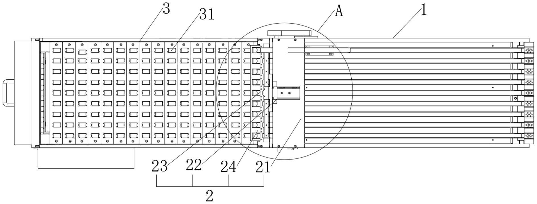
本实用新型实施例公开了一种胶块包装机多轨道上料机,包括多轨道胶块传输带和凹槽链板输送带,在多轨道胶块传输带末端设置有用于转移胶块的转料机构;转料机构包括承载门架、气缸组件、吸料夹具及储槽板,在多轨道胶块传输带末端轨道上设置有用于检测来料情况的微动开关,微动开关开启并触发气缸组件工作,气缸组件驱动吸料夹具把多轨道胶块传输带上的胶块转移至储槽板中。本实用新型通过设置多轨道胶块传输带和凹槽链板输送带自动传输胶块,并通过在两个传输带之间设置转料机构实现输送带之间的自动转料,使用自动化设备代替人工操作,大大降低了劳动强度,提高了生产效率。


