授权公布号:CN218551200U
一种自动阿胶熬制机
有效
申请
2022-12-07
申请公布
1970-01-01
授权
2023-03-03
预估到期
2032-12-07
| 申请号 | CN202223270344.3 |
| 申请日 | 2022-12-07 |
| 授权公布号 | CN218551200U |
| 授权公告日 | 2023-03-03 |
| 分类号 | A23L33/00;A23L5/10;B02C18/10;B02C18/24 |
| 分类 | 其他类不包含的食品或食料;及其处理; |
| 申请人名称 | 山东鲁润阿胶药业有限公司 |
| 申请人地址 | 山东省菏泽市巨野县城巨富路中段路南 |
专利法律状态
2023-03-03
授权
状态信息
授权
摘要
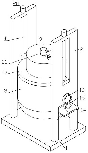
本实用新型公开了一种自动阿胶熬制机,包括底板、支撑侧板、自动加热熬煮锅、丝杆、密封盖、搅拌粉碎组件和转动组件,所述支撑侧板设于底板上,所述自动加热熬煮锅上设有连接轴,所述自动加热熬煮锅通过连接轴旋转设于支撑侧板上,所述支撑侧板上设有滑槽,所述丝杆旋转设于滑槽内,所述密封盖通过螺纹套接设于丝杆上且滑动设于滑槽内,所述密封盖可盖设于自动加热熬煮锅上,所述搅拌粉碎组件设于密封盖上,所述转动组件设于支撑侧板上且设于连接轴上。本实用新型涉及阿胶生产技术领域,具体是提供了一种便于出料,具有辅料自动粉碎功能,能实现对胶体的自动搅拌,便于自动对熬煮锅内壁进行刮动清理的自动阿胶熬制机。


