授权公布号:CN213862951U
一种用于阿胶糕封糕机的热封装置
有效
申请
2020-08-21
申请公布
1970-01-01
授权
2021-08-03
预估到期
2030-08-21
| 申请号 | CN202021756532.5 |
| 申请日 | 2020-08-21 |
| 授权公布号 | CN213862951U |
| 授权公告日 | 2021-08-03 |
| 分类号 | B65B51/14 |
| 分类 | 输送;包装;贮存;搬运薄的或细丝状材料; |
| 申请人名称 | 山东东阿益生堂阿胶保健食品有限公司 |
| 申请人地址 | 山东省聊城市东阿县县城阿胶街76号 |
专利法律状态
2021-08-03
授权
状态信息
授权
摘要
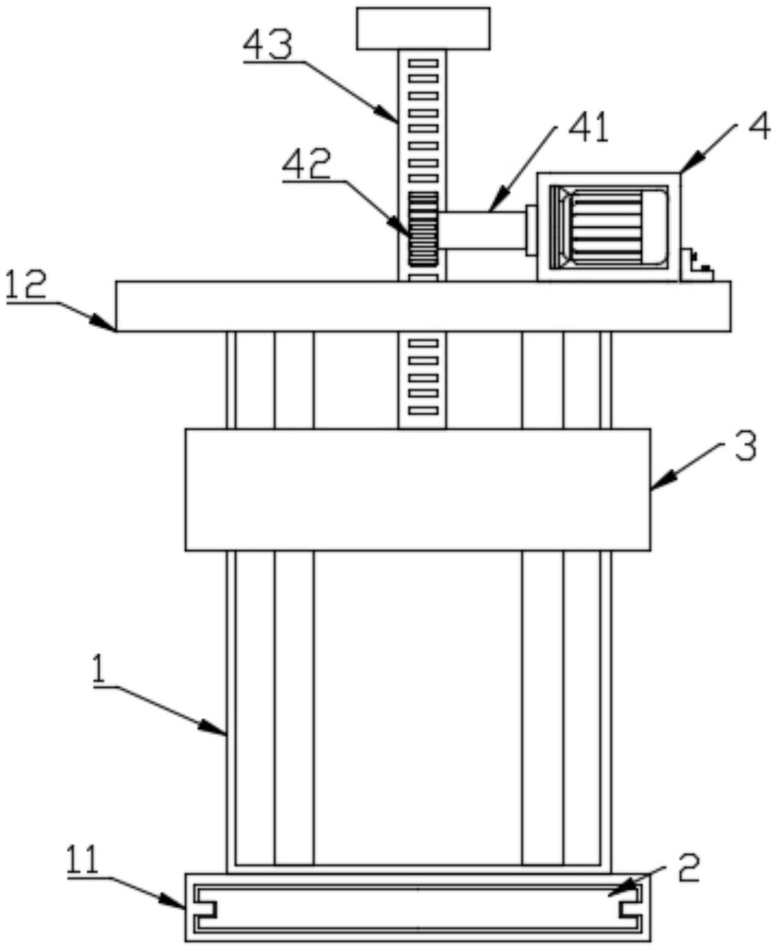
本实用新型公开了一种用于阿胶糕封糕机的热封装置,其技术方案是:包括热封架、模具板、热封板、电机和固定装置,所述热封架内部下端卡接所述模具板,所述热封架内部中间卡接所述热封板,所述热封架顶端右侧通过直角架固定安装所述电机,所述热封板下端设有所述固定装置,所述热封架下端设有底座,所述热封架下端设有顶板,所述模具板卡接在所述底座内部,所述模具板表面设有放置槽,所述模具板表面通过螺栓固定安装第一包装膜,所述热封板两端设有活动块,所述活动块下端焊接韧性弹簧,所述活动块卡接在固定板内部,本实用新型的有益效果是:阿胶糕的食用时间增加,有利于长时间储存的效果。


