授权公布号:CN214528102U
一种便于清洗的阿胶浆加工用灌封机
有效
申请
2020-08-20
申请公布
1970-01-01
授权
2021-10-29
预估到期
2030-08-20
| 申请号 | CN202021745413.X |
| 申请日 | 2020-08-20 |
| 授权公布号 | CN214528102U |
| 授权公告日 | 2021-10-29 |
| 分类号 | B67C7/00;B67C3/22;B67C3/24 |
| 分类 | 开启或封闭瓶子、罐或类似的容器;液体的贮运; |
| 申请人名称 | 山东东阿益生堂阿胶保健食品有限公司 |
| 申请人地址 | 山东省聊城市东阿县县城阿胶街76号 |
专利法律状态
2021-10-29
授权
状态信息
授权
摘要
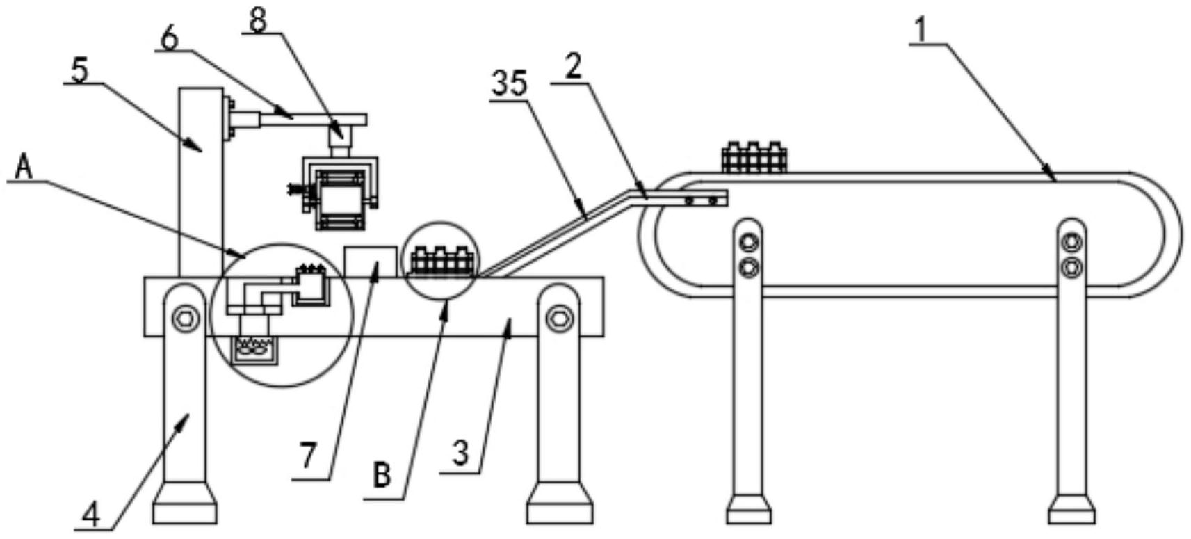
本实用新型公开了一种便于清洗的阿胶浆加工用灌封机,其技术方案是:包括操作台,所述操作台两端通过螺栓固定连接支撑腿,所述操作台左端顶部固定连接支撑架,所述操作台顶部固定安装导向板,所述导向板两侧固定安装侧板,所述导向板右端通过螺栓固定连接传送带,所述支撑架顶部右端通过螺栓固定连接第一电动伸缩杆,所述第一电动伸缩杆右端下方固定连接第二电动伸缩杆,本实用新型方便储药瓶的清洗和烘干,缩短了清洗和烘干的时间,超声波清洗箱的设置,使得储药瓶内壁的顽固污渍也能被清洗掉,可同时对六组储药瓶进行清洗,大大提高了工作效率。


