授权公布号:CN2565281
文胸调节扣
失效
申请
2002-08-14
申请公布
1970-01-01
授权
2003-08-13
预估到期
2012-08-14
| 申请号 | CN02268957.5 |
| 申请日 | 2002-08-14 |
| 授权公布号 | CN2565281 |
| 授权公告日 | 2003-08-13 |
| 分类号 | A41F1/04 |
| 分类 | 服装; |
| 申请人名称 | 潍坊舒燕女士用品有限公司 |
| 申请人地址 | 山东省潍坊市奎文区健康街287号 |
专利法律状态
2021-07-09
授权
状态信息
授权
2007-10-03
专利权的终止未缴年费专利权终止
状态信息
专利权的终止未缴年费专利权终止
2003-08-13
实用新型专利权授予
状态信息
授权
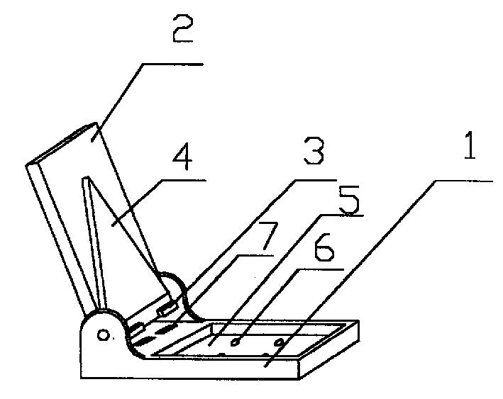
摘要
本实用新型涉及一种可以调节文胸的两杯罩之间的距离的文胸调节扣。固定片与调节片铰接在一起,调节片的内侧带有咬合齿,固定片上带有可以穿过缝合线的通孔。压紧调节片后,固定片和调节片结合成为一个很小的纽扣,丝毫不影响美观。调节片上的咬合齿就可以将连接带咬住,起到固定连接带的作用;固定片凹坑中的通孔可以将缝合线隐藏在凹坑中,避免凸出的缝合线影响美观;本实用新型结构简单、外形美观、使用方便。


