授权公布号:CN110820186B
一种缝斜插袋辅助装置
有效
申请
2019-09-16
申请公布
2020-02-21
授权
2021-07-02
预估到期
2039-09-16
| 申请号 | CN201910871467.6 |
| 申请日 | 2019-09-16 |
| 申请公布号 | CN110820186A |
| 申请公布日 | 2020-02-21 |
| 授权公布号 | CN110820186B |
| 授权公告日 | 2021-07-02 |
| 分类号 | D05B35/06;D05B55/06 |
| 分类 | 缝纫;绣花;簇绒; |
| 申请人名称 | 浙江美嘉标服饰有限公司 |
| 申请人地址 | 浙江省杭州市余杭区兴国路522号 |
专利法律状态
2021-07-02
授权
状态信息
授权
2020-03-17
实质审查的生效
状态信息
实质审查的生效;IPC(主分类):D05B35/06;申请日:20190916
2020-02-21
公布
状态信息
公布
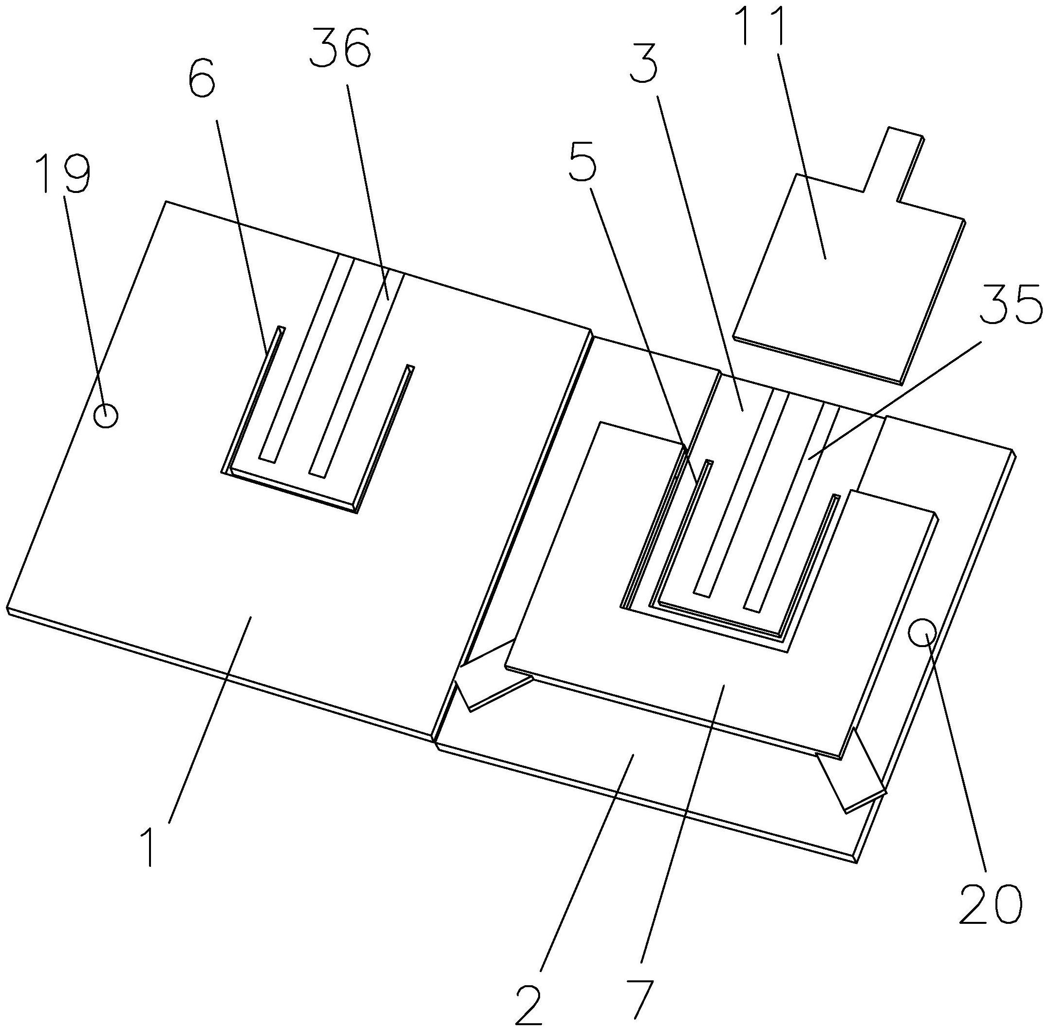
摘要
本发明公开了一种缝斜插袋辅助装置,涉及服装制造技术领域;包括底板、盖板,盖板一侧设有凹槽,盖板上设有压板,凹槽上设有针线槽,底板上设有第二针线槽,盖板固接有导向板,导向板包括缺口,导向板设有若干滑槽,滑槽内滑动连接有推板,针线槽包括依次首尾相接的第一槽段、第二槽段、第三槽段,盖板上固接有若干加强金属条,加强金属条一端位于盖板边缘,加强金属条另一端位于第一槽段与第三槽段之间,第二针线槽包括依次首尾相接的第四槽段、第五槽段、第六槽段,底板上固接有若干第二加强金属条,第二加强金属条一端位于底板边缘,第二加强金属条另一端位于第四槽段与第六槽段之间。本发明缝纫效率高且安全。


