授权公布号:CN220430774U
折叠式展示包装盒
有效
申请
2023-07-19
申请公布
1970-01-01
授权
2024-02-02
预估到期
2033-07-19
| 申请号 | CN202321898758.2 |
| 申请日 | 2023-07-19 |
| 授权公布号 | CN220430774U |
| 授权公告日 | 2024-02-02 |
| 分类号 | B65D5/22;B65D5/44;B65D5/52;B65D85/68 |
| 分类 | 输送;包装;贮存;搬运薄的或细丝状材料; |
| 申请人名称 | 佳禾智能科技股份有限公司 |
| 申请人地址 | 广东省东莞市松山湖园区科苑路3号 |
专利法律状态
2024-02-02
授权
状态信息
授权
摘要
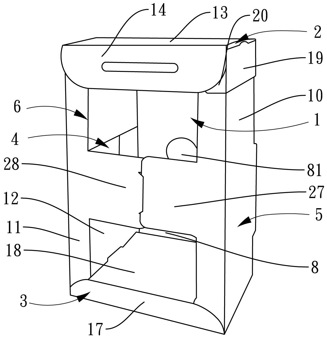
本实用新型公开一种折叠式展示包装盒,包括由一纸板折叠而成的盒体,盒体沿高度方向设置有产品放置腔、上收纳腔及下收纳腔,盒体设置有用于展示产品的展示孔,展示孔与产品放置腔连通。本实用新型既能展示产品,还可以收纳配件、说明书等,更加方便、稳固和简洁;由于盒体为由一纸板折叠而成,这样无需额外生产内托,有效降低生产成本,组装零件少,能有效降低人工包装成本,提高生产效率;还能避免因制作出来的内托与外盒不匹配而导致内托无法放入外盒或者内托与外盒间的缝隙大的现象发生,提高优品率,减少生产资源浪费,降低生产成本;运输时可以采用纸板方式相叠,占地面积小,降低运输成本;由于纸板为可降解材料,对环境友好,更环保。


