授权公布号:CN219748870U
一种塑料颗粒挤压成型装置
有效
申请
2023-05-05
申请公布
1970-01-01
授权
2023-09-26
预估到期
2033-05-05
| 申请号 | CN202321087356.4 |
| 申请日 | 2023-05-05 |
| 授权公布号 | CN219748870U |
| 授权公告日 | 2023-09-26 |
| 分类号 | B29C48/285;B29C48/27;B29B13/10 |
| 分类 | 塑料的加工;一般处于塑性状态物质的加工; |
| 申请人名称 | 山东正泰电缆有限公司 |
| 申请人地址 | 山东省济南市莱芜区和庄镇驻地 |
专利法律状态
2023-09-26
授权
状态信息
授权
摘要
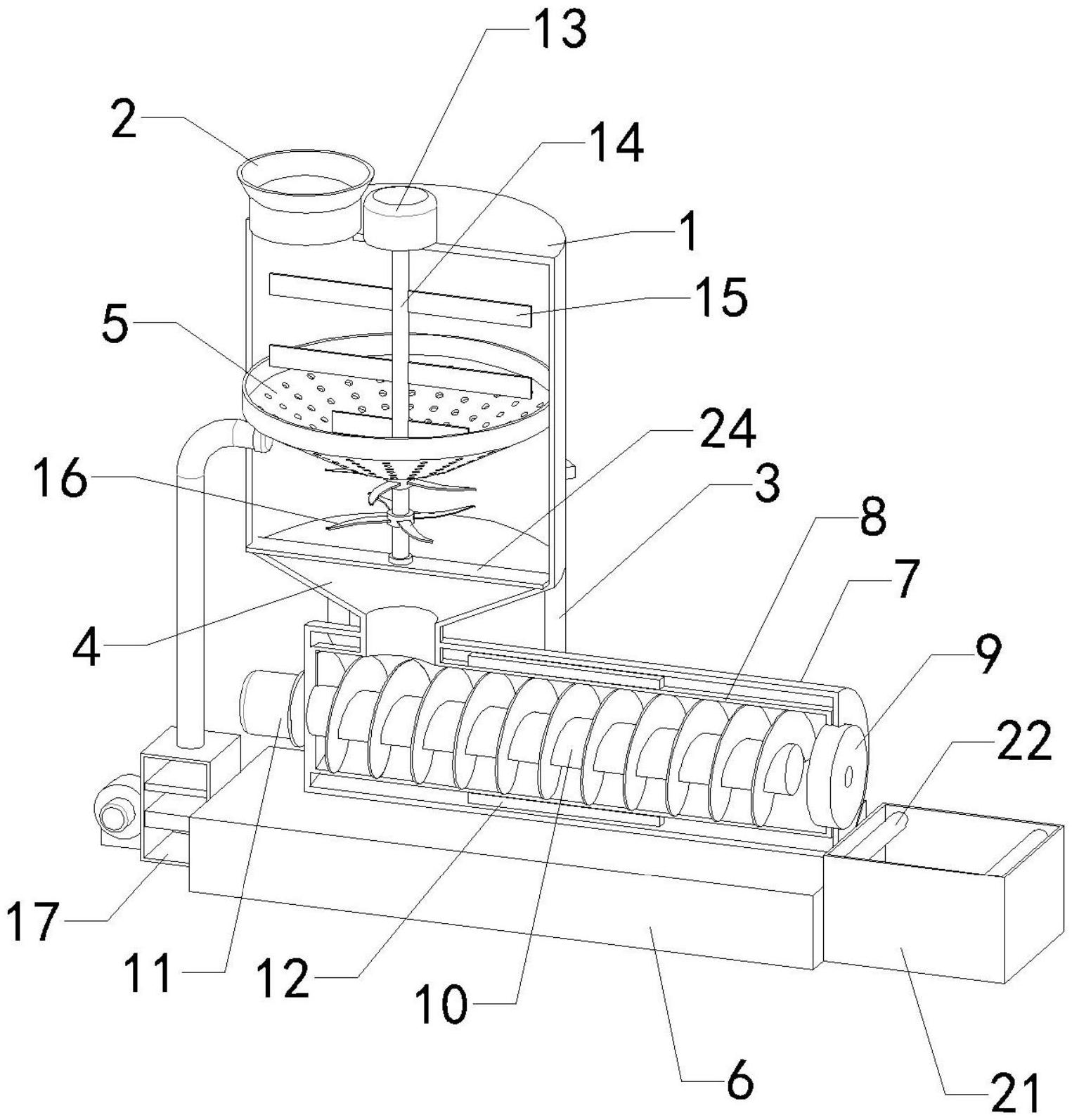
本实用新型涉及塑料颗粒挤压加工的技术领域,特别是涉及一种塑料颗粒挤压成型装置,其提高对塑料预先除尘和粉碎的效果,提高塑料加工质量;包括筒体和进料斗,进料斗连通设置在筒体顶端;还包括挤压装置、破碎装置、吸气装置、支腿、排料斗和筛子,多组支腿顶端均安装在筒体外侧壁上,多组支腿底端均与地面接触,排料斗连通设置在筒体底端,排料斗底端与挤压装置连通,挤压装置用于将塑料挤出成型,筒体内设置有破碎装置,破碎装置用于将塑料粉碎处理,并且破碎装置将塑料搅拌,吸气装置输入端与筒体内连通,吸气装置用于将灰尘收集。


