授权公布号:CN219393041U
一种电缆加工用绞线机
有效
申请
2023-04-27
申请公布
1970-01-01
授权
2023-07-21
预估到期
2033-04-27
| 申请号 | CN202320989299.2 |
| 申请日 | 2023-04-27 |
| 授权公布号 | CN219393041U |
| 授权公告日 | 2023-07-21 |
| 分类号 | H01B13/02 |
| 分类 | 基本电气元件; |
| 申请人名称 | 山东正泰电缆有限公司 |
| 申请人地址 | 山东省济南市莱芜区和庄镇驻地 |
专利法律状态
2023-07-21
授权
状态信息
授权
摘要
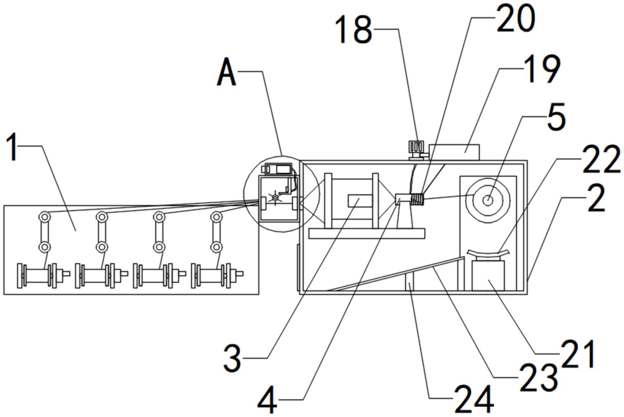
本实用新型涉及电缆生产加工的技术领域,特别是涉及一种电缆加工用绞线机,其通过理线装置使上料装置供应的金属线水平分布,便于清线装置对金属线进行清理;通过清线装置对金属线进行清理,减少金属线所携带的杂物;通过吸尘装置对清线装置清除的杂物进行收集;通过降温装置对绞线机的温度进行控制;通过辅助装置对收线盘的安拆进行辅助,降低了操作人员的劳动强度,提高了装置的实用性;包括上料装置、加工箱、放线架、绞线机和收线盘,加工箱的内部安装有放线架、绞线机和收线盘,上料装置的输出端与加工箱的输入端连接,上料装置位于加工箱的左侧,收线盘位于绞线机的右侧;还包括理线装置、清线装置、吸尘装置、降温装置和辅助装置。


