授权公布号:CN219017332U
一种电缆保护带缠绕装置
有效
申请
2022-10-08
申请公布
1970-01-01
授权
2023-05-12
预估到期
2032-10-08
| 申请号 | CN202222629896.2 |
| 申请日 | 2022-10-08 |
| 授权公布号 | CN219017332U |
| 授权公告日 | 2023-05-12 |
| 分类号 | H01B13/26 |
| 分类 | 基本电气元件; |
| 申请人名称 | 山东正泰电缆有限公司 |
| 申请人地址 | 山东省济南市莱芜区和庄镇驻地 |
专利法律状态
2023-05-12
授权
状态信息
授权
摘要
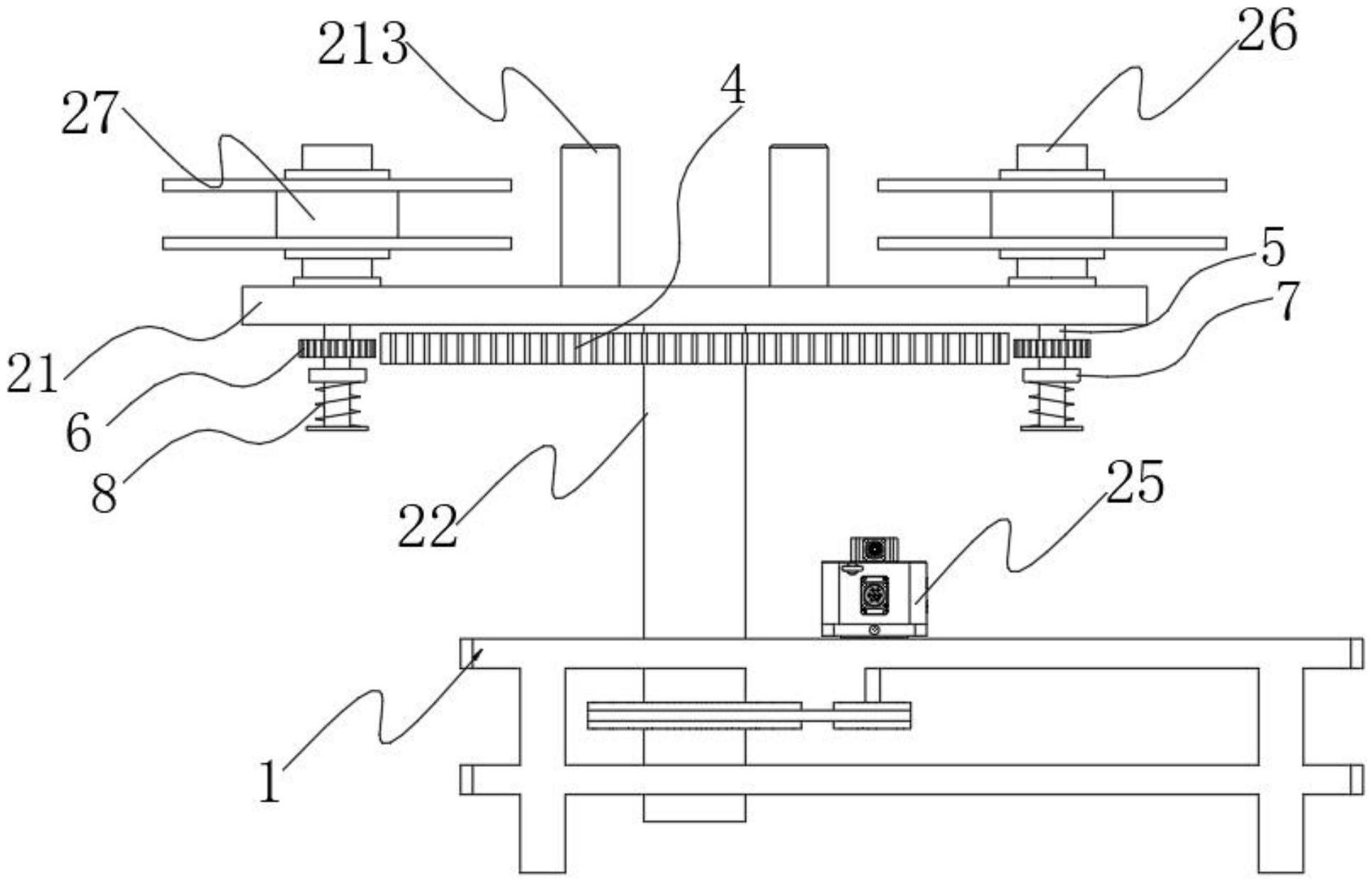
本实用新型涉及一种电缆保护带缠绕装置,包括两个相对称的底板,两个所述底板之间位于两侧处均固定连接有支板;所述底板的上方设有缠绕装置;通过设置的缠绕装置:即电机带动管体和转盘转动,转盘即可带动卷盘转动,卷绕即围绕电缆进行转动,此时保护带即可缠绕至电缆上;通过设置的固定机构:即在弹簧的作用下,带动连接块和插板向一侧运动,插板即可与插杆上的插槽插接配合,从而对插杆起到了固定的作用,对卷盘起到了固定的作用;同时通过插板与插槽之间的脱离,即可对卷盘进行拆卸;该设计便于对卷绕有保护带的卷盘进行拆装,方便更换用空的卷盘,节省了更换卷盘的时间,提高了工作的效率。


