授权公布号:CN107355497B
一种卡钳式电子驻车执行器
有效
申请
2017-08-21
申请公布
2017-11-17
授权
2023-09-19
预估到期
2037-08-21
| 申请号 | CN201710719505.7 |
| 申请日 | 2017-08-21 |
| 申请公布号 | CN107355497A |
| 申请公布日 | 2017-11-17 |
| 授权公布号 | CN107355497B |
| 授权公告日 | 2023-09-19 |
| 分类号 | F16D65/14;F16H37/02;F16D121/24N;F16D121/14N;F16D125/50N |
| 分类 | 工程元件或部件;为产生和保持机器或设备的有效运行的一般措施;一般绝热; |
| 申请人名称 | 瑞立集团有限公司 |
| 申请人地址 | 浙江省温州市瑞安市经济开发区开发区大道2666号 |
专利法律状态
2023-09-19
授权
状态信息
授权
2017-12-26
实质审查的生效
状态信息
实质审查的生效;IPC(主分类):F16D65/14;申请日:20170821
2017-11-17
公布
状态信息
公布
摘要
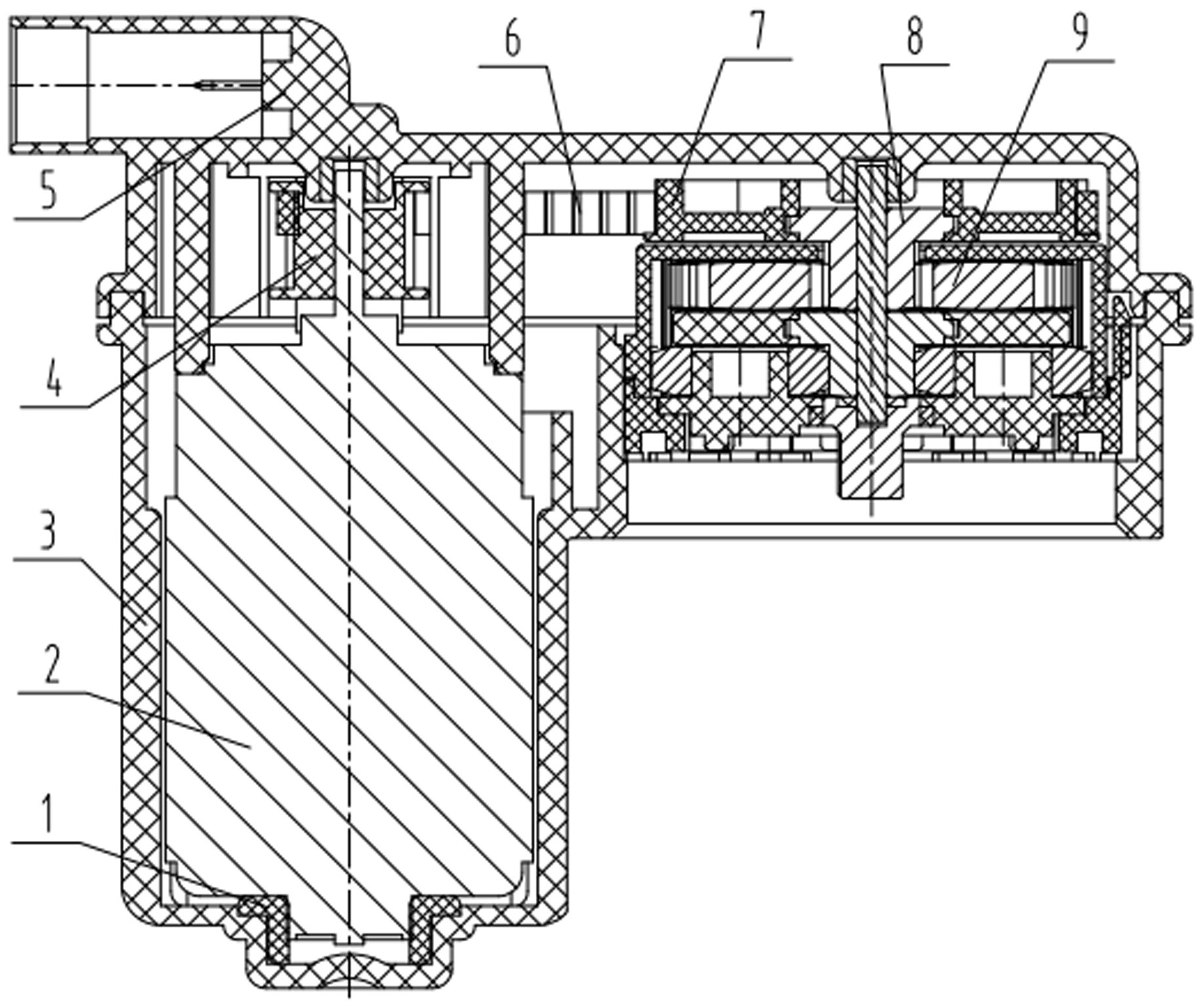
本发明涉及一种卡钳式电子驻车执行器,包括电机(2)、下壳体(3)、小皮带轮(4)、上盖(5)、皮带(6)、大皮带轮(7)、大皮带轮镶件齿轮(8)、行星齿轮传动机构(9)和小皮带轮(4),所述上盖(5)的中心截面上设有四个定位孔,上盖(5)的左右方向分别有两个定位孔(51)与下壳体(3)的左右两个定位圆柱(31)相配合,从而保证上盖(5)与下壳体(3)的电机轴孔与行星齿轮传动机构(9)的主轴孔重合;上盖(5)的中间部位两个定位圆孔(54)分别与电机轴及大皮带轮轴相配合,省去了定位板及电机固定支架。本发明的执行器大大的优化传动结构、体积小、定位准确、噪音低、工作可靠。


