授权公布号:CN209573116U
一种肉制品的腌制设备
有效
申请
2018-12-27
申请公布
1970-01-01
授权
2019-11-05
预估到期
2028-12-27
| 申请号 | CN201822209347.3 |
| 申请日 | 2018-12-27 |
| 授权公布号 | CN209573116U |
| 授权公告日 | 2019-11-05 |
| 分类号 | A23L13/70;A23B4/26 |
| 分类 | 其他类不包含的食品或食料;及其处理; |
| 申请人名称 | 江西煌上煌集团食品股份有限公司 |
| 申请人地址 | 江西省南昌市南昌县小蓝经济开发区小蓝中大道66号 |
专利法律状态
2019-11-05
授权
状态信息
授权
摘要
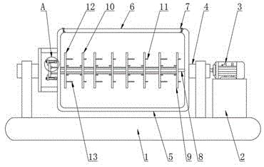
本实用新型公开了一种肉制品的腌制设备,具体涉及食品加工领域,包括底座,所述底座顶部一侧设有支撑块,所述支撑块顶部设有低速电机,所述低速电机输出轴一端设有转轴,所述转轴一端设有腌制箱,所述腌制箱顶部设有封闭门,所述封闭门两端均设有固定螺栓,所述腌制箱内部设有固定杆,所述固定杆表面设有多个夹持机构,所述夹持机构包括夹持板,所述夹持板一侧表面设有凹槽,所述夹持板另一侧设有活动板。本实用新型通过设有夹持机构、推板和转轴,有利于通过夹持机构夹持大块肉制品,推动推板固定住夹持机构,然后低速电机通过转轴带动腌制箱转动,整体使得本实用新型的腌制效果更好。


