授权公布号:CN209463212U
一种烤鸭烘烤设备
有效
申请
2018-12-27
申请公布
1970-01-01
授权
2019-10-08
预估到期
2028-12-27
| 申请号 | CN201822209350.5 |
| 申请日 | 2018-12-27 |
| 授权公布号 | CN209463212U |
| 授权公告日 | 2019-10-08 |
| 分类号 | A21B5/00;A21B3/16;A21B3/07 |
| 分类 | 焙烤;制作或处理面团的设备;焙烤用面团〔1,8〕; |
| 申请人名称 | 江西煌上煌集团食品股份有限公司 |
| 申请人地址 | 江西省南昌市南昌县小蓝经济开发区小蓝中大道66号 |
专利法律状态
2019-10-08
授权
状态信息
授权
摘要
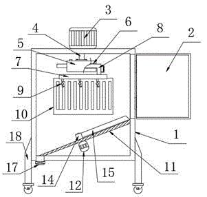
本实用新型公开了一种烤鸭烘烤设备,具体涉及食品烘烤领域,包括箱体,所述箱体的一侧外壁铰接有箱门,所述箱体的顶端外壁中间处通过螺丝固定有第一驱动电机,所述第一驱动电机的输出轴端部通过轴联器连接有转动杆,且转动杆的底端延伸至箱体的内部,所述转动杆的底端设置有连接板,所述连接板的一侧外壁开设有卡槽,所述连接板的底部设置有圆盘。本实用新型结构设计简单,通过设置有连接板,由于连接板上设置有卡槽,而圆盘通过卡板卡接在卡槽的内部,然后通过固定销将卡板固定在卡槽的内部,当需要对箱体的内部进行清洗时,可以直接将卡板从卡槽的内部取出,从而可以将圆盘和连接板之间快速拆卸,方便后期拆卸清理。


