授权公布号:CN204267338U
一种照明装饰吊扇
有效
申请
2014-12-04
申请公布
1970-01-01
授权
2015-04-15
预估到期
2024-12-04
| 申请号 | CN201420751525.4 |
| 申请日 | 2014-12-04 |
| 授权公布号 | CN204267338U |
| 授权公告日 | 2015-04-15 |
| 分类号 | F04D25/08;F04D29/26;F21V33/00;F21V31/00 |
| 分类 | 液体变容式机械;液体泵或弹性流体泵; |
| 申请人名称 | 中山中合电机工业有限公司 |
| 申请人地址 | 广东省中山市东升镇高沙工业区 |
专利法律状态
2016-01-27
专利申请权、专利权的转移
状态信息
专利权的转移;IPC(主分类):F04D25/08;登记生效日:20160106;变更事项:专利权人;变更前:杨凤姣;变更后:中山中合电机工业有限公司;变更事项:地址;变更前:411300 湖南省湘潭市韶山市韶山乡石山村深塘村民组23号;变更后:528400 广东省中山市东升镇高沙工业区
2015-04-15
授权
状态信息
授权
摘要
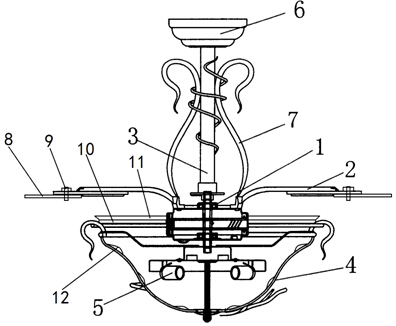
本实用新型涉及一种照明装饰吊扇,包括电机、扇叶、灯罩,所述电机安装在连接轴下方并且在连接轴顶部装有顶盖,电机外围均匀装有若干扇叶,每个扇叶外表面带有若干固定孔,在这些固定孔内安装固定螺柱,每个扇叶通过固定螺柱固定连接一个塑料叶片;所述连接轴的下端固定安装一个灯罩并且在灯罩内部设置光源,同时,在灯罩内表面均匀分布若干反光贴片;所述灯罩顶面开两侧设收纳腔并且在收纳腔上表面安装一层防尘网。本实用新型有益效果为:有利于提高室内照明与装饰效果、便于收纳扇叶;可有效减少顶棚对灯罩落下的灰尘,可长期确保灯罩清洁。


