授权公布号:CN213078894U
一种室内装修用板材喷漆装置
有效
申请
2020-04-28
申请公布
1970-01-01
授权
2021-04-30
预估到期
2030-04-28
| 申请号 | CN202020671943.8 |
| 申请日 | 2020-04-28 |
| 授权公布号 | CN213078894U |
| 授权公告日 | 2021-04-30 |
| 分类号 | B05B13/04;B05B13/02;B05B16/40 |
| 分类 | 一般喷射或雾化;对表面涂覆液体或其他流体的一般方法〔2〕; |
| 申请人名称 | 深圳市壹丹天人合一装饰设计工程有限公司 |
| 申请人地址 | 广东省深圳市莲花街道景田南路瑞达苑202C |
专利法律状态
2021-04-30
授权
状态信息
授权
摘要
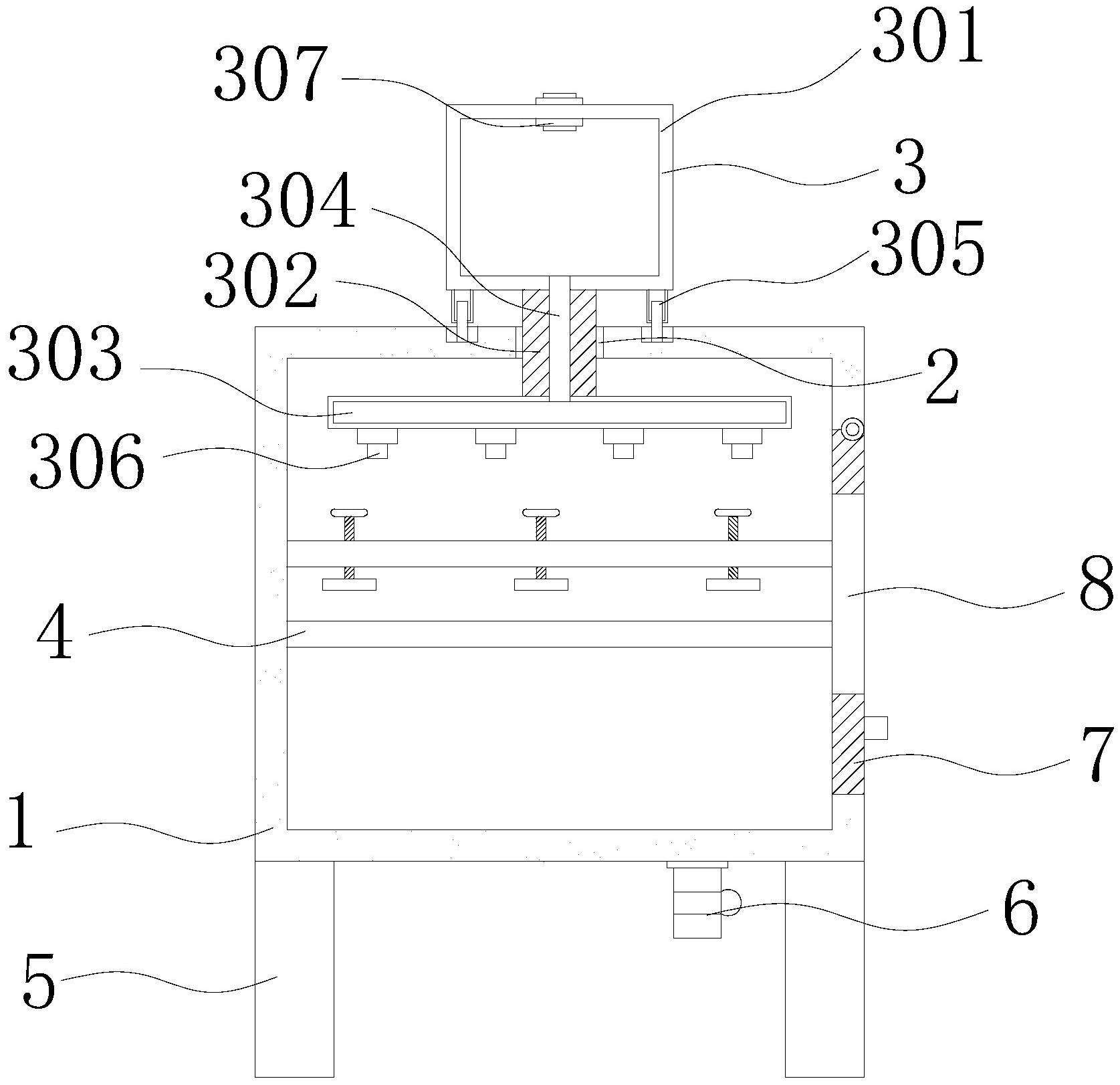
本实用新型公开了一种室内装修用板材喷漆装置,涉及室内装修技术领域。该室内装修用板材喷漆装置,包括喷漆箱,所述喷漆箱的顶部开设有移动开口,所述喷漆箱的顶部外表面设置有喷漆机构。该室内装修用板材喷漆装置,通过油漆桶、固定柱、喷漆管、输送管、移动滚轮和雾化喷头的配合使用,使装置内的喷漆机构能沿着移动开口进行移动的同时进行喷漆,装置喷出的油漆经雾化喷头进行雾化喷出,不仅大大降低了油漆的喷出速度,而且使油漆在板材的附着面粘附更加均匀,喷漆机构在沿着移动开口进行移动喷漆的过程中无需工人进行操作,使其可在密封的环境下进行工作,不仅减小了油漆对环境的污染,而且还能有效的防止工人吸入油漆。


