授权公布号:CN220654063U
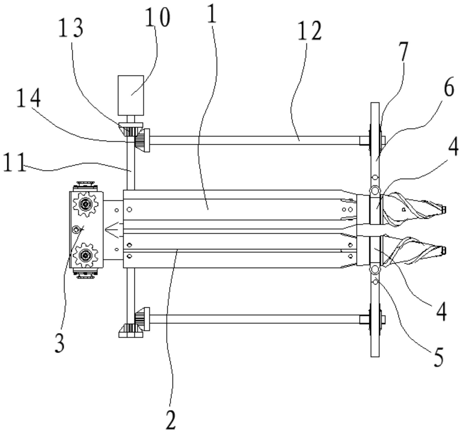
一种间隙可调的拉茎辊组件
有效
申请
2023-07-31
申请公布
1970-01-01
授权
2024-03-26
预估到期
2033-07-31
| 申请号 | CN202322025547.4 |
| 申请日 | 2023-07-31 |
| 授权公布号 | CN220654063U |
| 授权公告日 | 2024-03-26 |
| 分类号 | A01D45/02;A01D57/01 |
| 分类 | 农业;林业;畜牧业;狩猎;诱捕;捕鱼; |
| 申请人名称 | 潍柴雷沃智慧农业科技股份有限公司 |
| 申请人地址 | 山东省潍坊市坊子区北海南路192号 |
专利法律状态
2024-03-26
授权
状态信息
授权
摘要
本实用新型涉及农业机械设备技术领域,尤其涉及一种间隙可调的拉茎辊组件,包括并列设置的第一拉茎辊和第二拉茎辊,所述第一拉茎辊的第二端上和所述第二拉茎辊的第二端上均套有转动套,两个所述转动套相互远离的外壁上均铰接连接杆的一端,每个所述连接杆的另一端均铰接第一连接件的一端,所述第一连接件旁设有与第一连接件啮合连接的第二连接件,所述第二连接件与连接件驱动机构传动连接用于在连接件驱动机构的带动下轴向转动以带动所述第一拉茎辊的第二端和所述第二拉茎辊的第二端相互远离或靠近。本实用新型的有益效果是:实现第一拉茎辊和第二拉茎辊间隙的快速调整,既能降低机手的劳动强度,又能节省调整时间同时提高用户收益。


