授权公布号:CN220635258U
一种可动式指状筛安装机构、筛箱组合和收获机
有效
申请
2023-08-23
申请公布
1970-01-01
授权
2024-03-22
预估到期
2033-08-23
| 申请号 | CN202322272219.4 |
| 申请日 | 2023-08-23 |
| 授权公布号 | CN220635258U |
| 授权公告日 | 2024-03-22 |
| 分类号 | B07B1/28;B07B1/46 |
| 分类 | 将固体从固体中分离;分选; |
| 申请人名称 | 潍柴雷沃智慧农业科技股份有限公司 |
| 申请人地址 | 山东省潍坊市坊子区北海南路192号 |
专利法律状态
2024-03-22
授权
状态信息
授权
摘要
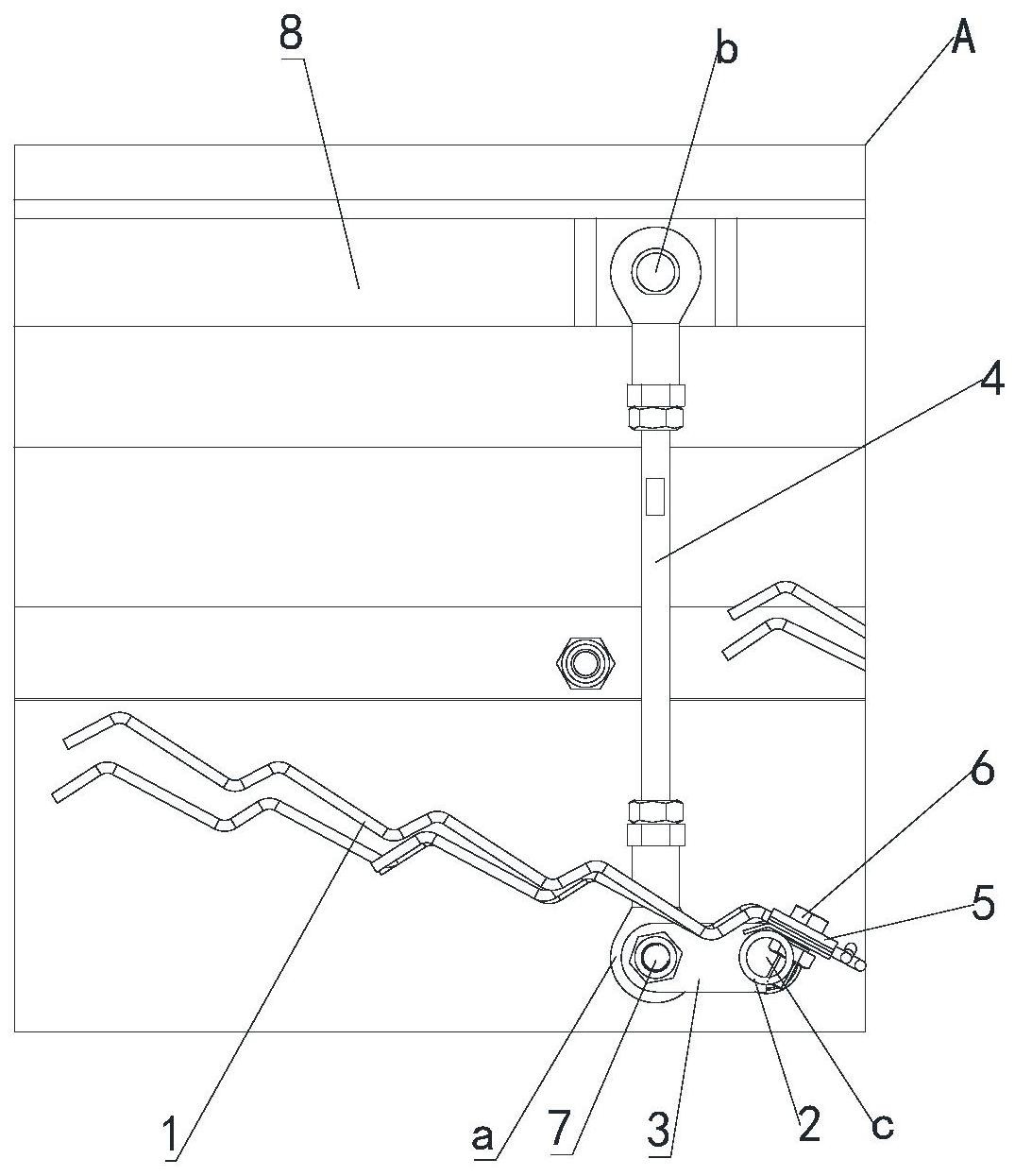
本实用新型涉及一种可动式指状筛安装机构、筛箱组合和收获机,可动式指状筛安装机构包括指状筛本体、铰接杆、连接板和连接杆,所述指状筛本体的一端固定在所述铰接杆上,所述铰接杆分别与所述连接板和筛箱侧壁活动连接,所述连接杆一端与所述连接板活动连接,所述连接杆与所述铰接杆垂直布置。本实用新型的可动式指状筛安装机构,指状筛本体可通过铰接杆与连接板和筛箱侧壁活动连接,连接板可通过连接杆与机体连接,收获机工作的时候,可实现筛箱与指状筛本体之间的相对运动,提高筛分效率;而且指状筛本体直接与筛箱侧壁连接,安装位置不依靠抖动板,可根据需要选择理想的安装位置。


