授权公布号:CN220667976U
一种适用玉米机油缸复合动作的液压系统以及玉米机
有效
申请
2023-09-05
申请公布
1970-01-01
授权
2024-03-26
预估到期
2033-09-05
| 申请号 | CN202322407258.0 |
| 申请日 | 2023-09-05 |
| 授权公布号 | CN220667976U |
| 授权公告日 | 2024-03-26 |
| 分类号 | F15B11/22;F15B13/06 |
| 分类 | 流体压力执行机构;一般液压技术和气动技术; |
| 申请人名称 | 潍柴雷沃智慧农业科技股份有限公司 |
| 申请人地址 | 山东省潍坊市坊子区北海南路192号 |
专利法律状态
2024-03-26
授权
状态信息
授权
摘要
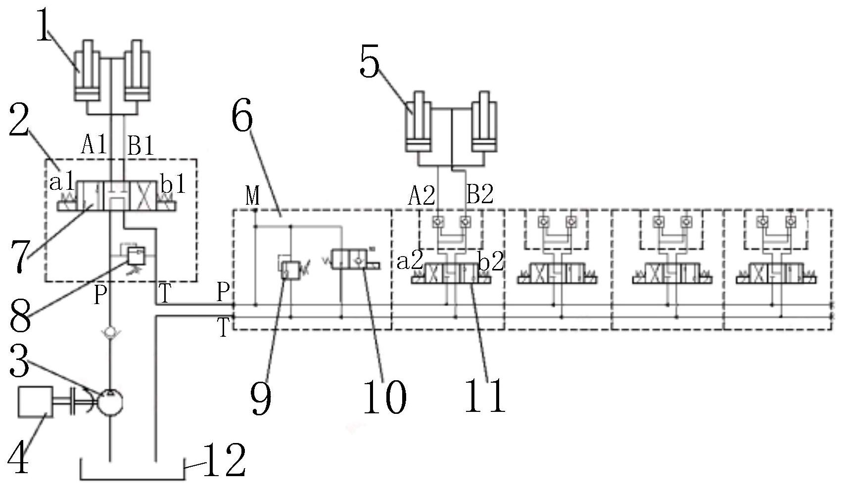
本实用新型提供了一种适用玉米机油缸复合动作的液压系统以及玉米机。一种适用玉米机油缸复合动作的液压系统包括:粮箱举升油缸、粮箱举升控制阀、齿轮泵、粮箱翻转油缸、四联多路阀,所述齿轮泵通过管路与所述粮箱举升控制阀连接,所述粮箱举升控制阀通过管路分别与所述粮箱举升油缸以及所述四联多路阀连接,所述四联多路阀通过管路与所述粮箱翻转油缸连接。通过增加粮箱举升控制阀,粮箱举升控制阀与四联多路阀组合运行,实现粮箱举升和粮箱翻转两功能复合动作,且在不增加齿轮泵输出流量情况下,粮箱动作到预定位置,两组油缸同时动作时间小于顺序动作总时间,成本较低。


