授权公布号:CN209336573U
一种移动式餐饮车
有效
申请
2018-12-07
申请公布
1970-01-01
授权
2019-09-03
预估到期
2028-12-07
| 申请号 | CN201822051502.3 |
| 申请日 | 2018-12-07 |
| 授权公布号 | CN209336573U |
| 授权公告日 | 2019-09-03 |
| 分类号 | B60P3/025 |
| 分类 | 一般车辆; |
| 申请人名称 | 河南北方永盛摩托车有限责任公司 |
| 申请人地址 | 河南省洛阳市洛龙区李楼工业园 |
专利法律状态
2019-09-03
授权
状态信息
授权
摘要
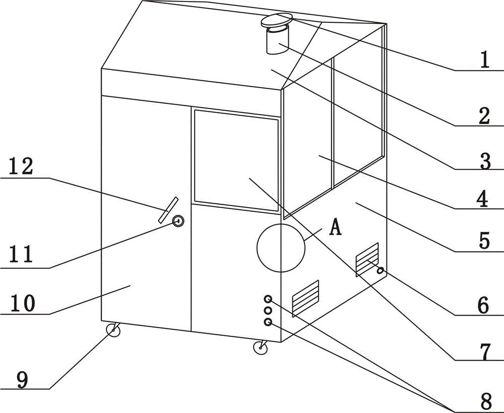
一种移动式餐饮车,涉及一种餐饮车,包括车体本体,包括由顶盖、前面板、左侧面板、右侧面板、后侧面板和下底板组成的封闭式车体,顶盖的左右侧的截面为三角形,在顶盖的上部设有通孔,在通孔上固定连接有环形圆柱状的烟囱,烟囱上部连接有挡板,在烟囱的上口两侧设有向内延伸的连接片,在连接片上设有螺纹孔,在挡板下面两侧设有螺栓分别与烟囱的上口的连接片固定连接,顶盖的左右两侧板之间设有多根支撑杆,在顶盖内部的上部固定有至少一个吊环,在左侧面板的中部上下间隔分别设有玻璃面C和推拉玻璃,在玻璃面C的中部安装有扩音器,推拉玻璃设置有多扇;本实用新型结构简单、干净整洁,有效保证了食品的卫生情况。


