授权公布号:CN219287846U
PCBA装配设备
有效
申请
2022-12-29
申请公布
1970-01-01
授权
2023-06-30
预估到期
2032-12-29
| 申请号 | CN202223540815.8 |
| 申请日 | 2022-12-29 |
| 授权公布号 | CN219287846U |
| 授权公告日 | 2023-06-30 |
| 分类号 | H05K3/36;B25B27/00 |
| 分类 | 其他类目不包含的电技术; |
| 申请人名称 | 采埃孚汽车系统(上海)有限公司 |
| 申请人地址 | 上海市嘉定区百安公路188号 |
专利法律状态
2023-06-30
授权
状态信息
授权
摘要
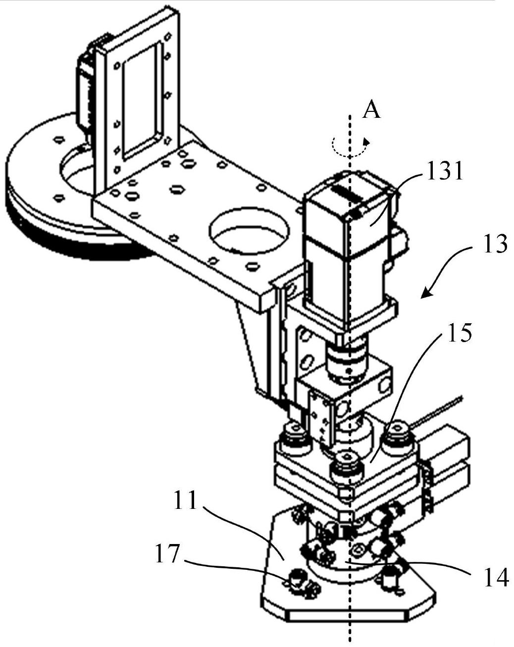
本实用新型提供了一种PCBA装配设备,包括:承载板;在承载板的下表面具有至少三个吸盘,至少三个吸盘不位于同一直线上,每个吸盘连接使吸盘产生负压的抽气装置;其中,每个吸盘包括外环和柔性吸头,外环固定在承载板的下表面,柔性吸头设置在外环之内。本实用新型能够提高产线工作效率,降低人工成本,降低人工装配产生的产品质量风险,减少不良PCBA的产生。


