授权公布号:CN218546497U
制动钳导向杆螺栓副的摩擦系数测量装置
有效
申请
2022-09-22
申请公布
1970-01-01
授权
2023-02-28
预估到期
2032-09-22
| 申请号 | CN202222510777.5 |
| 申请日 | 2022-09-22 |
| 授权公布号 | CN218546497U |
| 授权公告日 | 2023-02-28 |
| 分类号 | G01N19/02 |
| 分类 | 测量;测试; |
| 申请人名称 | 采埃孚汽车系统(上海)有限公司 |
| 申请人地址 | 上海市嘉定区百安公路188号 |
专利法律状态
2023-02-28
授权
状态信息
授权
摘要
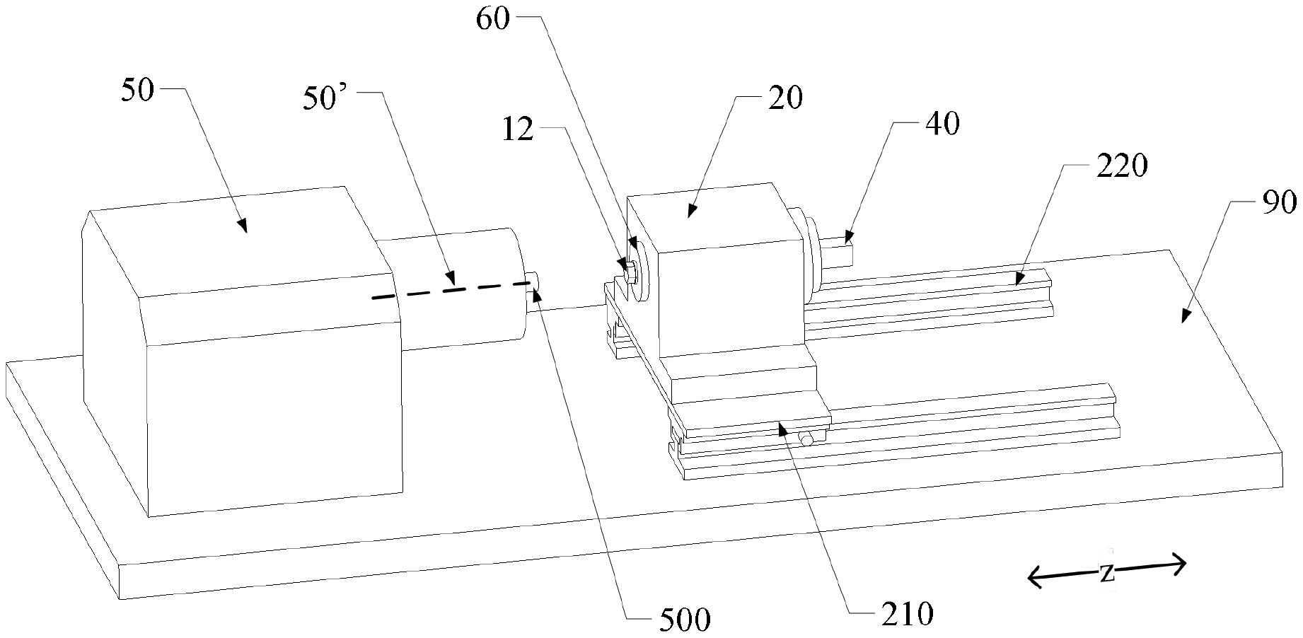
本实用新型涉及汽车制动钳技术领域,提供一种制动钳导向杆螺栓副的摩擦系数测量装置,包括:传感器,设有供所述制动钳导向杆螺栓副安装的轴向通孔;限位块,设置于所述轴向通孔的前端,所述导向杆的端部嵌设于所述限位块,所述导向杆螺栓的杆部穿过所述限位块伸入所述导向杆的端部;方轴,所述轴向通孔的后端设有方孔,所述导向杆的杆部轴向可活动地伸入所述方轴,所述方轴轴向可活动地穿过所述方孔;以及驱动机构,设有沿轴向延伸、且能拧紧所述导向杆螺栓的驱动轴。本实用新型的摩擦系数测量装置能够实现对制动钳导向杆螺栓副的摩擦系数的高效、准确测量。


