授权公布号:CN215725682U
电磁阀行程测量设备
有效
申请
2021-06-30
申请公布
1970-01-01
授权
2022-02-01
预估到期
2031-06-30
| 申请号 | CN202121460645.5 |
| 申请日 | 2021-06-30 |
| 授权公布号 | CN215725682U |
| 授权公告日 | 2022-02-01 |
| 分类号 | G01B7/02 |
| 分类 | 测量;测试; |
| 申请人名称 | 采埃孚汽车系统(上海)有限公司 |
| 申请人地址 | 上海市嘉定区百安公路188号 |
专利法律状态
2022-02-01
授权
状态信息
授权
摘要
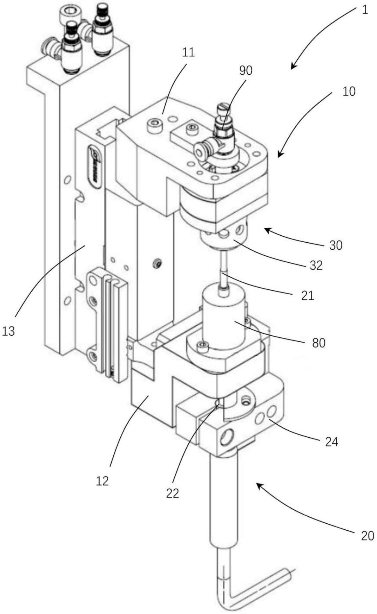
本实用新型涉及一种电磁阀行程测量设备。该电磁阀行程测量设备包括:检测夹具,所述检测夹具包括:夹具上部件、夹具下部件以及夹具驱动装置,夹具上部件和夹具下部件能够在第一位置与第二位置之间进行开合运动;行程传感器,行程传感器包括探针和探针承载部,行程传感器还配设有行程传感器操纵装置,行程传感器操纵装置设置用于在第二位置中将探针运送到电磁阀处以实施测量;线圈装置和与线圈装置电连接的供电设备,其中,线圈装置构成为用于能在第二位置中围绕电磁阀的带有动铁芯的部分布置。由此,能够以高效且可靠的方式实现自动化的电磁阀行程测量。由此,能够减少节拍时间。此外,能够提高测量精度。此外,能够节省成本。


