授权公布号:CN215529775U
用于摄像头的传输托盘
有效
申请
2021-07-30
申请公布
1970-01-01
授权
2022-01-14
预估到期
2031-07-30
| 申请号 | CN202121758675.4 |
| 申请日 | 2021-07-30 |
| 授权公布号 | CN215529775U |
| 授权公告日 | 2022-01-14 |
| 分类号 | H05K13/02;H04N5/225 |
| 分类 | 其他类目不包含的电技术; |
| 申请人名称 | 采埃孚汽车系统(上海)有限公司 |
| 申请人地址 | 上海市嘉定区百安公路188号 |
专利法律状态
2022-01-14
授权
状态信息
授权
摘要
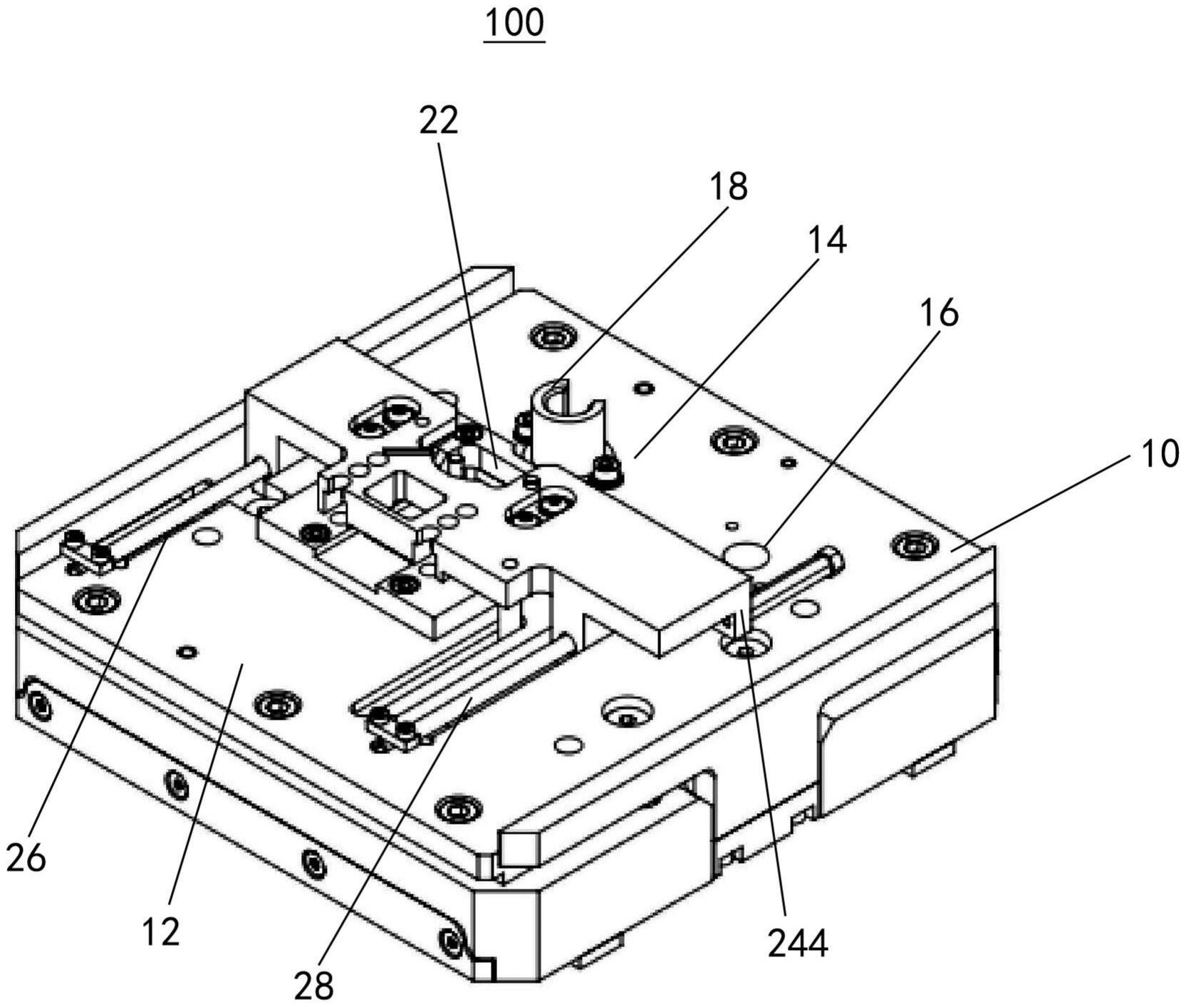
本实用新型涉及一种用于摄像头的传输托盘,所述传输托盘包括托盘基座,在所述托盘基座的第一表面上设有多个镜头口,所述多个镜头口分别布置在针对不同的摄像头生产线而预设的不同的位置处,围绕所述多个镜头口中的第一镜头口安装有镜头接纳筒,所述镜头接纳筒构成为用于接纳所述不同的摄像头生产线中的第一摄像头生产线的镜头,在所述托盘基座的第一表面上还设有镜头支架容纳槽和保持机构,在所述托盘基座的与第一表面对置的第二表面上设有容纳凹部,在所述容纳凹部内安装有第一印刷电路板。由此提供了一种适应于不同类型、型号或版本的摄像头生产线的传输托盘以及改善了在传输托盘上的装配工序。


