授权公布号:CN216862909U
用于油泵成品的取放夹具
有效
申请
2021-06-29
申请公布
1970-01-01
授权
2022-07-01
预估到期
2031-06-29
| 申请号 | CN202121448315.4 |
| 申请日 | 2021-06-29 |
| 授权公布号 | CN216862909U |
| 授权公告日 | 2022-07-01 |
| 分类号 | B65G47/91 |
| 分类 | 输送;包装;贮存;搬运薄的或细丝状材料; |
| 申请人名称 | 采埃孚汽车系统(上海)有限公司 |
| 申请人地址 | 上海市嘉定区百安公路188号 |
专利法律状态
2022-07-01
授权
状态信息
授权
摘要
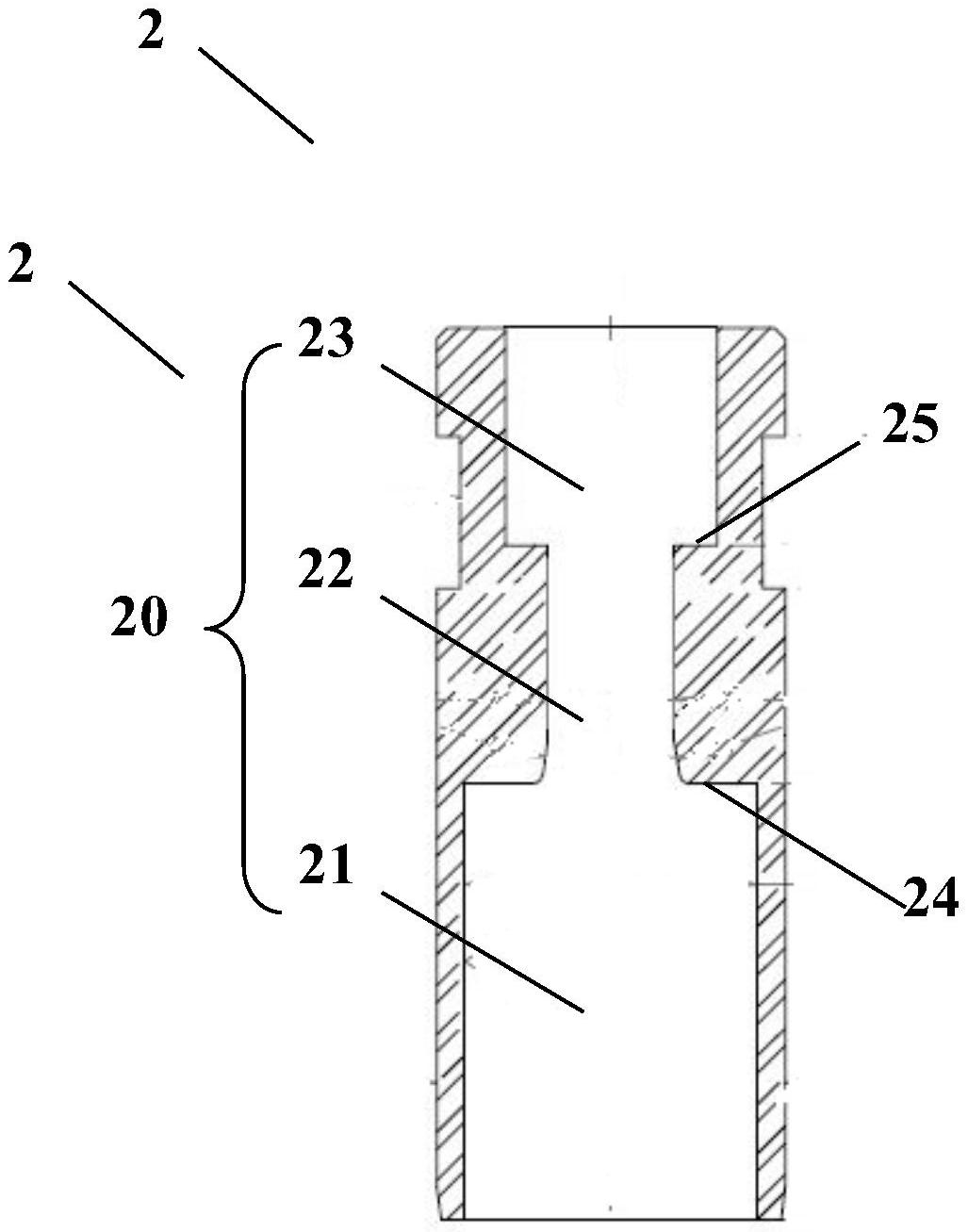
本实用新型公开了用于油泵成品的取放夹具,该油泵成品包括泵主体和设置在泵主体内的泵杆,并且泵杆的头部从泵主体的顶表面向上伸出,该取放夹具的中空内部包括:位于上部的接合腔;位于下部的容纳腔,该容纳腔被构造成容纳泵主体的至少一部分;以及位于接合腔和容纳腔之间且连通接合腔和容纳腔的抽吸孔,该抽吸孔与容纳腔直接相连并且直径小于容纳腔的直径,从而在抽吸孔和容纳腔之间形成第一台阶面,抽吸孔的直径设置成大于泵杆的头部的直径、但小于泵主体的直径,由此在油泵成品被抽吸和保持到中空内部时,泵主体的顶表面抵靠在第一台阶面上、而泵杆的头部被容纳在抽吸孔中。取放夹具避免了取放油泵成品时倾斜卡滞的风险。


