授权公布号:CN218782609U
烧录机与烧录夹具的连接装置、烧录机及烧录夹具
有效
申请
2022-12-13
申请公布
1970-01-01
授权
2023-03-31
预估到期
2032-12-13
| 申请号 | CN202223358082.6 |
| 申请日 | 2022-12-13 |
| 授权公布号 | CN218782609U |
| 授权公告日 | 2023-03-31 |
| 分类号 | G06F8/61 |
| 分类 | 计算;推算;计数; |
| 申请人名称 | 采埃孚汽车系统(上海)有限公司 |
| 申请人地址 | 上海市嘉定区百安公路188号 |
专利法律状态
2023-03-31
授权
状态信息
授权
摘要
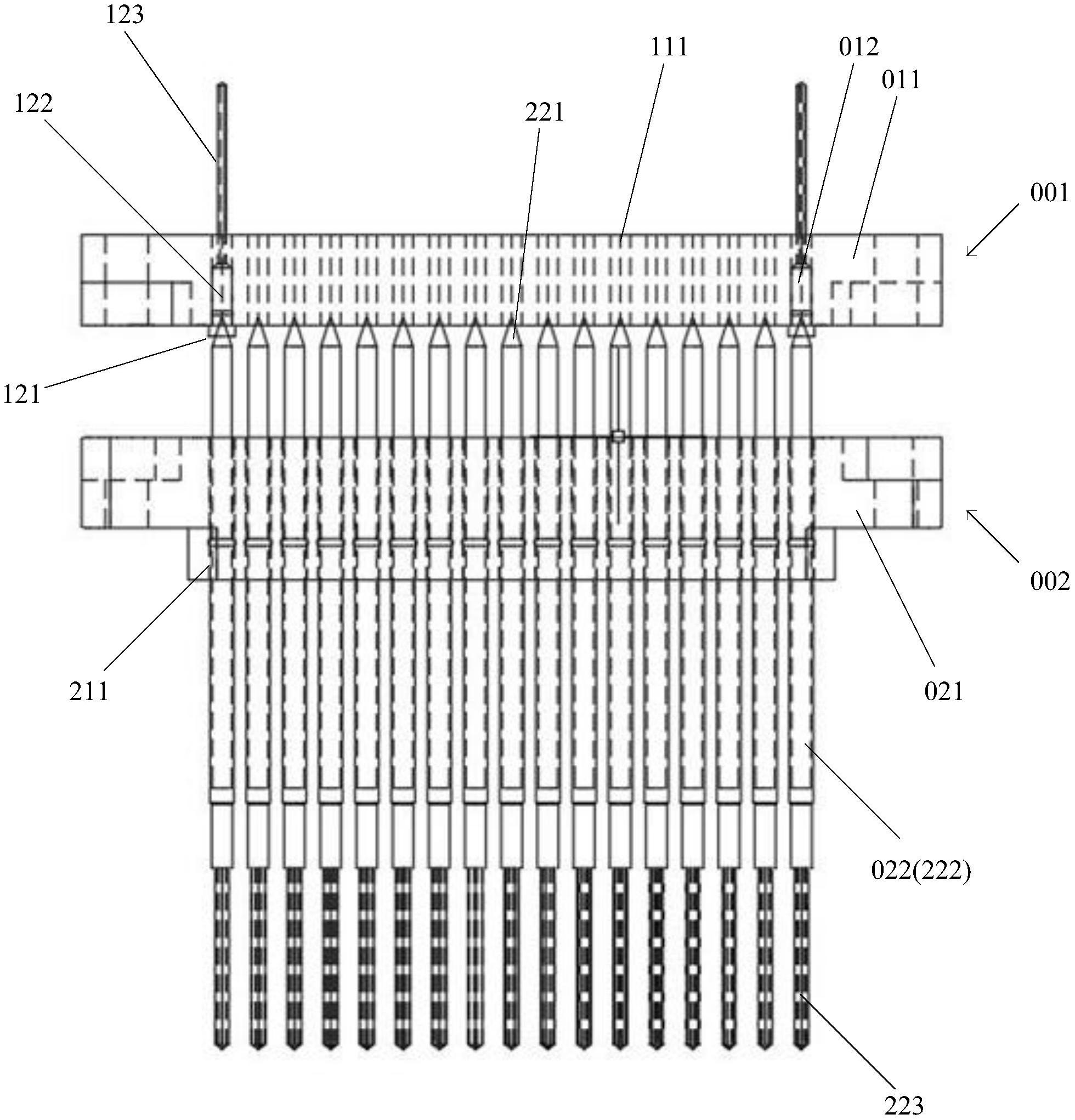
一种烧录机与烧录夹具的连接装置、烧录机及烧录夹具,烧录机与烧录夹具的连接装置包括母部以及公部,母部包括第一座体和针套,所述第一座体包括第一座孔,所述针套可拆卸地插接所述第一座孔,公部包括第二座体和探针,所述第二座体包括第二座孔,所述探针可拆卸地插接所述第二座孔。


