授权公布号:CN216884005U
用于带孔零件的充气抓手
有效
申请
2021-06-29
申请公布
1970-01-01
授权
2022-07-05
预估到期
2031-06-29
| 申请号 | CN202121452868.7 |
| 申请日 | 2021-06-29 |
| 授权公布号 | CN216884005U |
| 授权公告日 | 2022-07-05 |
| 分类号 | B25J15/00;B25J15/02 |
| 分类 | 手动工具;轻便机动工具;手动器械的手柄;车间设备;机械手; |
| 申请人名称 | 采埃孚汽车系统(上海)有限公司 |
| 申请人地址 | 上海市嘉定区百安公路188号 |
专利法律状态
2022-07-05
授权
状态信息
授权
摘要
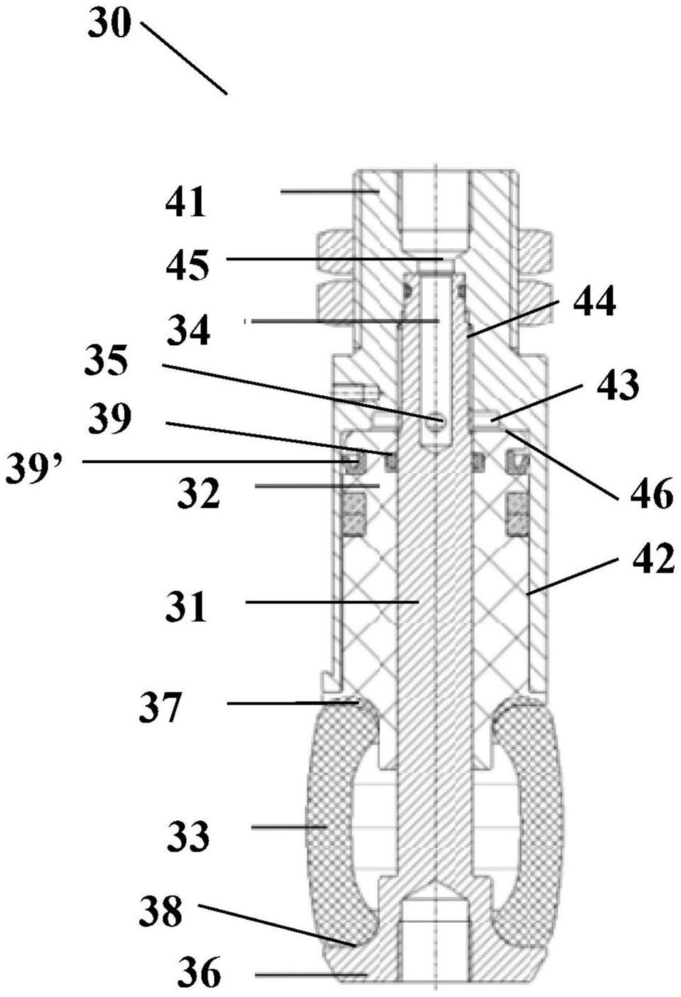
本实用新型公开了用于带孔零件的充气抓手,所述充气抓手包括具有输气管的伸长的抓手主体、以及位于抓手主体的远端部处的扩张组件。所述扩张组件包括:壳体,所述壳体的近端部固定至抓手主体的远端部、并连接输气管;中心柱,所述中心柱的近端部固定至壳体;弹性圈,所述弹性圈被套设在中心柱上、并且抵靠在中心柱的远端部处;和活塞,所述活塞被套设在中心柱上、并且位于弹性圈的近侧,其中,在来自输气管的气体压力的推动下,活塞被构造成沿中心柱向远侧移动,以压迫弹性圈径向扩张,从而接合带孔零件的孔壁。所述充气抓手使用寿命长,并且不会发生零件不慎脱落的问题。


