授权公布号:CN220410539U
电子驻车制动系统的外置释放装置
有效
申请
2023-07-12
申请公布
1970-01-01
授权
2024-01-30
预估到期
2033-07-12
| 申请号 | CN202321834212.0 |
| 申请日 | 2023-07-12 |
| 授权公布号 | CN220410539U |
| 授权公告日 | 2024-01-30 |
| 分类号 | B60T13/74;B60T7/08 |
| 分类 | 一般车辆; |
| 申请人名称 | 采埃孚汽车系统(上海)有限公司 |
| 申请人地址 | 上海市嘉定区百安公路188号 |
专利法律状态
2024-01-30
授权
状态信息
授权
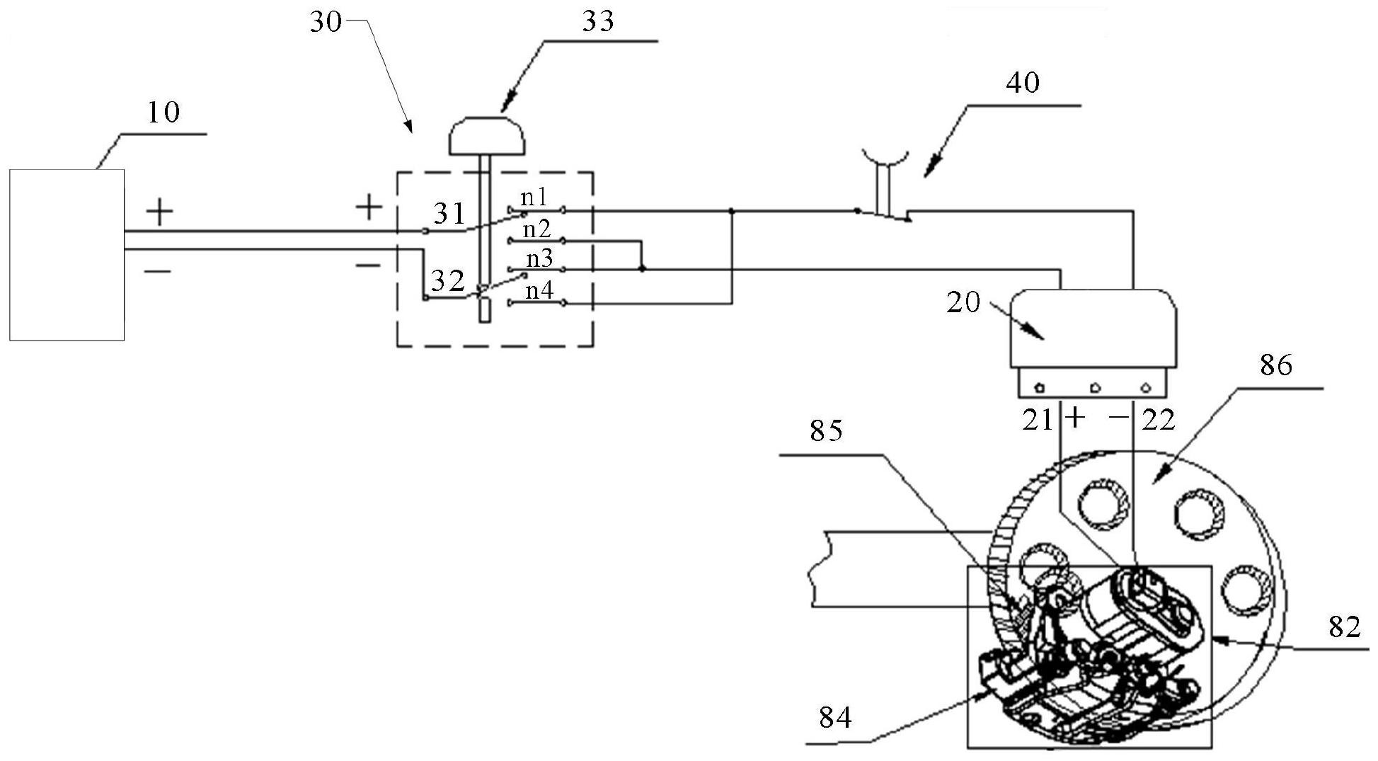
摘要
本实用新型涉及电子驻车技术领域,提供电子驻车制动系统的外置释放装置,包括:电源模块;对接插头,具有正极端和负极端;操作开关,连接在电源模块与对接插头之间,操作开关与对接插头的连接状态可切换,当操作开关切换至反接状态,操作开关的正极开关接通负极端、操作开关的负极开关接通正极端;常闭型断电延时开关,串联在负极端所在的支路中。本实用新型的外置释放装置外置于电子驻车制动系统,仅在需要释放操作时对接电子驻车制动系统,能够避免误操作带来的安全性问题,且外置释放装置配置延时开关,能够在控制制动电子驻车制动系统的电机反向运动至松开刹车盘后及时断电,以保护制动电机。


