授权公布号:CN109458449B
一种可调中心距取力器
有效
申请
2018-11-19
申请公布
2019-03-12
授权
2024-03-15
预估到期
2038-11-19
| 申请号 | CN201811375955.X |
| 申请日 | 2018-11-19 |
| 申请公布号 | CN109458449A |
| 申请公布日 | 2019-03-12 |
| 授权公布号 | CN109458449B |
| 授权公告日 | 2024-03-15 |
| 分类号 | F16H57/021;F16H57/023;B60K25/06 |
| 分类 | 工程元件或部件;为产生和保持机器或设备的有效运行的一般措施;一般绝热; |
| 申请人名称 | 陕西法士特汽车传动集团有限责任公司 |
| 申请人地址 | 陕西省西安市高新区长安产业园西部大道129号 |
专利法律状态
2024-03-15
授权
状态信息
授权
2019-03-12
公布
状态信息
公布
摘要
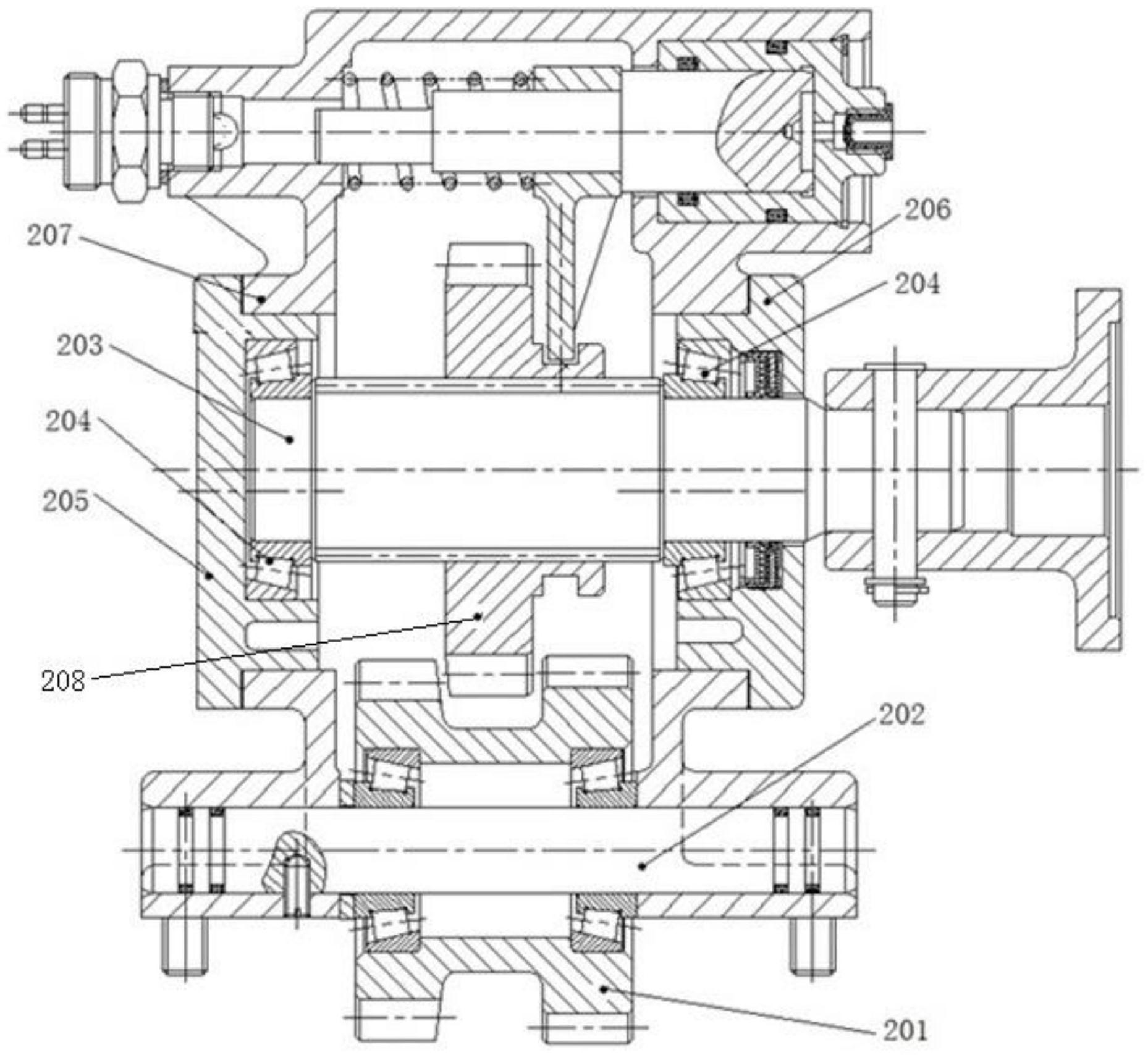
本发明涉及一种取力器,具体涉及一种可调中心距取力器;解决了现有取力器壳体通用性差,制造成本高,且不利于生产管理的技术问题。本发明的技术解决方案是:一种可调中心距取力器,包括双联齿轮、输入轴、输出轴、两个轴承、第一轴承盖、第二轴承盖、取力器壳体和滑移齿轮;取力器壳体上平行设置输入轴孔和输出轴孔;输入轴孔内设置输入轴;输出轴孔两端设置第一轴承盖和第二轴承盖;输出轴通过设置在其两端的轴承支撑在两个轴承盖上;输入轴上设置双联齿轮;输出轴上设置滑移齿轮;第一轴承盖沿周向均布连接孔;轴承安装孔和连接孔的分布圆偏心设置;第一轴承盖为闷盖;第二轴承盖与第一轴承盖的结构相似,区别仅在于第二轴承盖为透盖。


