授权公布号:CN108253034B
一种用于连接动力输入和输出的湿式离合器
有效
申请
2017-12-25
申请公布
2018-07-06
授权
2023-06-02
预估到期
2037-12-25
| 申请号 | CN201711420337.8 |
| 申请日 | 2017-12-25 |
| 申请公布号 | CN108253034A |
| 申请公布日 | 2018-07-06 |
| 授权公布号 | CN108253034B |
| 授权公告日 | 2023-06-02 |
| 分类号 | F16D13/52;F16D13/58;F16D13/70 |
| 分类 | 工程元件或部件;为产生和保持机器或设备的有效运行的一般措施;一般绝热; |
| 申请人名称 | 杭州前进齿轮箱集团股份有限公司 |
| 申请人地址 | 浙江省杭州市萧山区萧金路45号 |
专利法律状态
2023-06-02
授权
状态信息
授权
2018-07-31
实质审查的生效
状态信息
实质审查的生效;IPC(主分类):F16D13/52;申请日:20171225
2018-07-06
公布
状态信息
公布
摘要
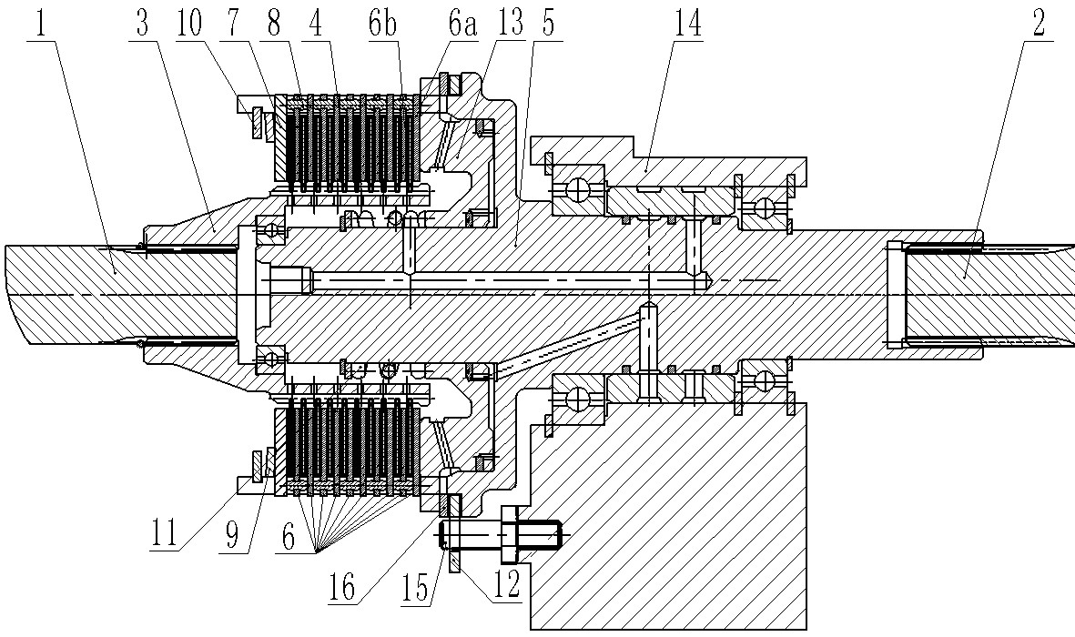
一种用于连接动力输入和输出的湿式离合器,它包括动力输入轴和动力输出轴,动力输入轴通过花键连接接合套,接合套上装有多个相对不能旋转但能沿轴向移动的主动摩擦片;一离合器轴支撑在变速箱箱体上,上面装有多个相对不能旋转但能沿轴向移动的从动钢片和承压板,每个偶数从动钢片上对称装有4个弹性橡胶塞,使相邻布置的奇数从动钢片和偶数从动钢片之间形成合适的间隔距离;主动摩擦片安插在奇数从动钢片和偶数从动钢片之间;离合器轴的槽内固定有孔用弹性挡圈,碟形弹簧设置在承压板与孔用弹性挡圈两个相对不发生旋转的部件之间,且碟形弹簧能够沿轴向发生弹性形变;所述离合器轴的内部沿轴向移动安装有活塞。


