授权公布号:CN218723615U
一种用于检测电枢U型线的检具
有效
申请
2022-12-01
申请公布
1970-01-01
授权
2023-03-24
预估到期
2032-12-01
| 申请号 | CN202223198089.6 |
| 申请日 | 2022-12-01 |
| 授权公布号 | CN218723615U |
| 授权公告日 | 2023-03-24 |
| 分类号 | G01B3/20;G01B5/00 |
| 分类 | 测量;测试; |
| 申请人名称 | 华域汽车电动系统有限公司 |
| 申请人地址 | 上海市浦东新区中国(上海)自由贸易试验区科苑路501号7幢 |
专利法律状态
2023-03-24
授权
状态信息
授权
摘要
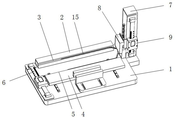
一种用于检测电枢U型线的检具,包括一个底座,底座上设置有一个固定座,固定座上表面的前侧设置有一个第一凹槽,底座上、固定座的前方设置有一个移动滑台,移动滑台与底座构成平行于底座宽度方向的滑动副,移动滑台的上表面的后侧设置有一个第二凹槽,底座上、固定座的左方设置有第一电子数显卡尺,第一电子数显卡尺的长度方向平行于底座的宽度方向,固定座的左方设置有一个立座,立座的左侧面设置有一个移动压块,立座的前侧面设置有一个第二电子数显卡尺。本实用新型的一种用于检测电枢U型线的检具,结构简单,安装方便,可快速将U型线定位,测量出U型线的各项线型检测内容,降低了U型线的测量难度,提高了工作效率,适用于规模生产。


