授权公布号:CN208900559U
一种用于冲压保持架调心滚子轴承拆卸滚子的装置
有效
申请
2018-08-21
申请公布
1970-01-01
授权
2019-05-24
预估到期
2028-08-21
| 申请号 | CN201821342810.5 |
| 申请日 | 2018-08-21 |
| 授权公布号 | CN208900559U |
| 授权公告日 | 2019-05-24 |
| 分类号 | F16C39/02;B25B27/02 |
| 分类 | 工程元件或部件;为产生和保持机器或设备的有效运行的一般措施;一般绝热; |
| 申请人名称 | 大连国威轴承股份有限公司 |
| 申请人地址 | 辽宁省大连市瓦房店市南共济街三段2201号 |
专利法律状态
2019-05-24
授权
状态信息
授权
摘要
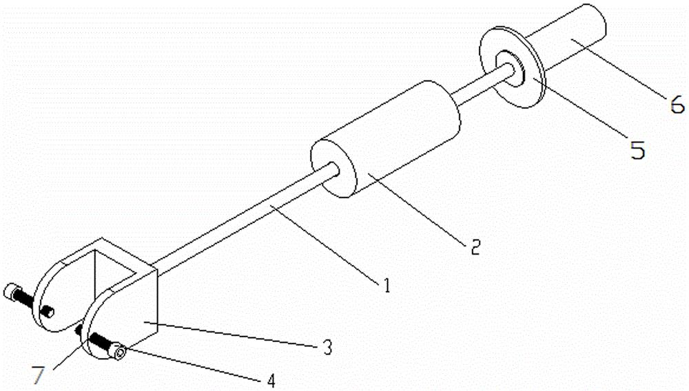
一种用于冲压保持架调心滚子轴承拆卸滚子的装置,惯性块套设在长杆上能够沿长杆自由移动,手柄固设在长杆的右端面上;防撞护手为环形结构,防撞护手套设并固定在手柄的左端外壁上。夹紧装置包括底板和对称固设在底板两端的两个支板,在夹紧装置的两端支板上分别对称开设有第一螺纹孔,在每个第一螺纹孔内插入有一个螺栓,夹紧装置的底板装设在长杆的左端上。在夹紧装置的底板上开设有第二螺纹孔,长杆的左端外壁设有外螺纹,长杆的左端插入第二螺纹孔内并且螺纹连接。上述螺栓为内六角螺栓。本实用新型避免了拆分滚子时撬杆对保持架的压伤,及撬杆头对内圈滚道的划伤的可能性。


