授权公布号:CN214367255U
一种适用于高速旋转的圆锥滚子轴承
有效
申请
2020-12-28
申请公布
1970-01-01
授权
2021-10-08
预估到期
2030-12-28
| 申请号 | CN202023220511.4 |
| 申请日 | 2020-12-28 |
| 授权公布号 | CN214367255U |
| 授权公告日 | 2021-10-08 |
| 分类号 | F16C19/36;F16C33/46 |
| 分类 | 工程元件或部件;为产生和保持机器或设备的有效运行的一般措施;一般绝热; |
| 申请人名称 | 大连国威轴承股份有限公司 |
| 申请人地址 | 辽宁省大连市瓦房店市南共济街三段2201号 |
专利法律状态
2021-10-08
授权
状态信息
授权
摘要
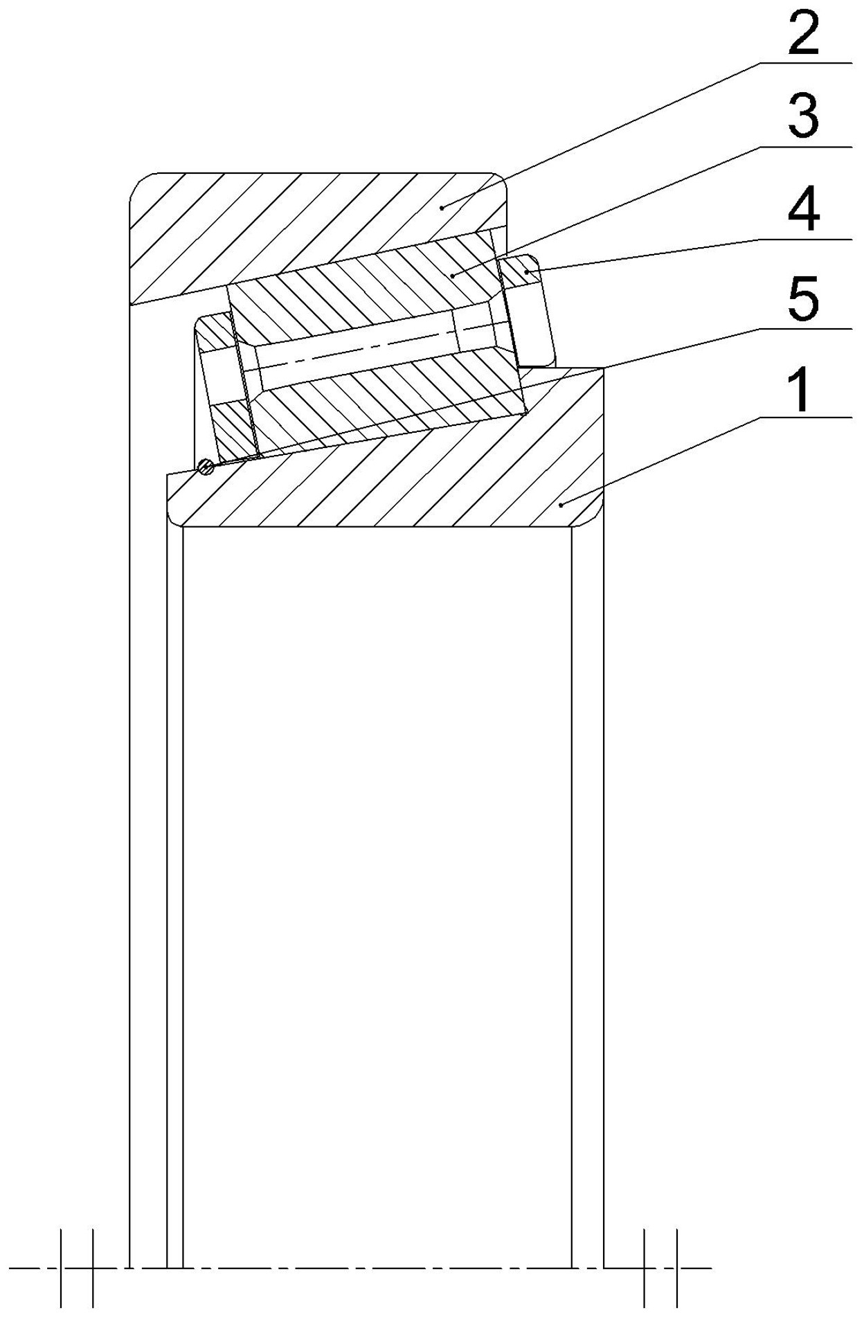
一种适用于高速旋转的圆锥滚子轴承,包括内圈、外圈、多个空心滚子、保持架和弹簧挡圈,其特征是所述的内圈的外锥面上和外圈内壁上分别呈对应的锥形滚道,内圈设有单个挡边,所述的保持架为与锥形滚道相匹配的锥形体,在保持架上分别设置有多个滚子兜孔,在多个滚子兜孔的两端面上分别设置有通油孔,所述的多个空心滚子分别装设在多个滚子兜孔内,保持架上两侧的通油孔与空心滚子的中心通孔组成了可以通油的油路,保持架装设在内圈和外圈之间,所述的弹簧挡圈固定设置在内圈锥形滚道上。本实用新型与传统圆锥滚子轴承相比,保持架采用机加工实体保持架,保持架由内圈挡边及滚道引导;提高了轴承的旋转精度和极限转速。


